EasyManua.ls Logo

Magnescale LH71A - Einstellungen für Allzweckanwendungen und Fräsmaschinenfunktion; Wenn das Gerät nach dem Versand zum Ersten Mal Eingeschaltet wird (Allzweckanwendungen und Fräsmaschinenfunktion Beim Modell LH71 A)

Default Icon
Print Icon
To Next Page IconTo Next Page
To Next Page IconTo Next Page
To Previous Page IconTo Previous Page
To Previous Page IconTo Previous Page
Loading...
5-4 (G)
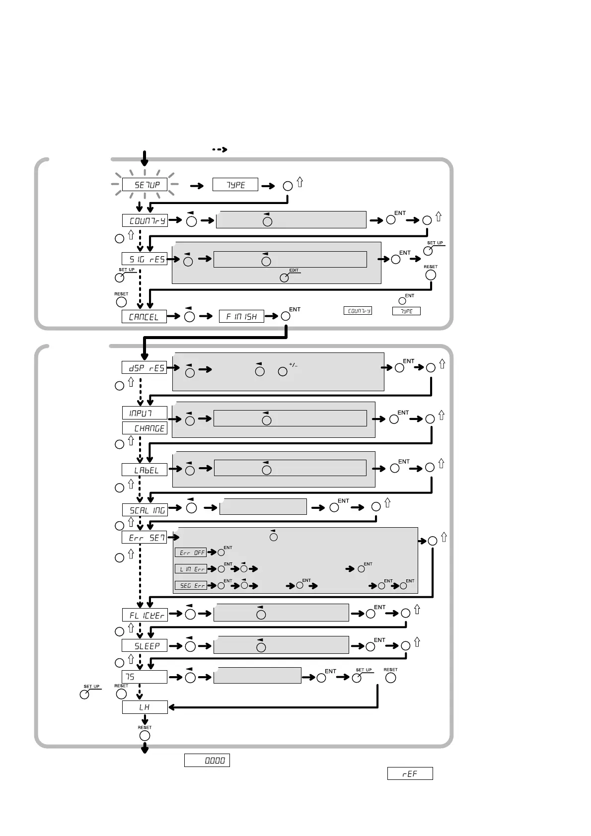
5. Einstellungen
LH71A / LH72
q
w
e
r
t
y
u
i
o
!0
Strom EIN
Grundein-
stellungen
Betriebsbeginn
(Bei einer Anzeigeauflösung von 0,001 mm)
Detailein-
stellungen
Modell
Bestimmungsland
(STD)
Skalierung
(1.000000)
Messstabseinheits-
Auflösung
(1)
Anzeigeauflösung
(Messstabseinheits-
Auflösung)
Umschaltung
der Anzeige
(1-1, 2-2, 3-3)
nur 2-Achsen- und
3-Achsen-Modelle
nur 1-Achsen- und
2-Achsen-Modelle
Umschaltung des
Achsenetiketts
(1-X, 2-Y, 3-Z)
Kompensationswert
(OFF)
Flimmerregelung
(2)
Abschaltung
(OFF)
Messtaster-Radius
(5.0000)
Achse wählen
Wird für jede Achse durchgeführt. Verwenden Sie zur Erweiterung der Auswahloption.
oder
oder
Hinweis 1
Ca. 2
Sekunden
Verwenden Sie und zur Wahl des Einstellungsinhalts
Achse wählen
Verwenden Sie zur Wahl des Einstellungsinhalts
Achse wählen
Verwenden Sie zur Wahl des Einstellungsinhalts
Verwenden Sie zur Wahl des Einstellungsinhalts
Achse wählen
Einstellwert eingeben
Die Einstellung (Kompensation) mit auswählen, dann die einzelnen Optionen einstellen
Kompensationswert eingeben
Kompensationswert
eingeben
Position
eingeben
Achse wählen
Verwenden Sie zur Wahl des Einstellungsinhalts
Verwenden Sie zur Wahl des Einstellungsinhalts
oder
Die Einstellung in Klammern ( ) ist die Werkseinstellung.
zeigt den Vorgang an, wenn die Einstellung nicht geandert wird.
Hinweis 1: Verwenden Sie , um zu
oder
zurückzukehren.
Wenn der segmentierte Fehlerkompensationswert eingestellt wird, erscheint ,
und die Einheit schaltet auf den Messstabseinheits-Bezugspunkt-Erfassungsmodus um.
Verwenden Sie zur Wahl des Einstellungsinhalts
oder
3-Aschsen-
Modell
1-Achsen/
2-Achsen-Modell
Einstellwert eingeben
Wird für jede Achse durchgeführt.
Wird für jede Achse durchgeführt.
Wird für jede Achse durchgeführt.
5-2. Einstellungen für Allzweckanwendungen und Fräsmaschinenfunktion
5-2-1. Wenn das Gerät nach dem Versand zum ersten Mal eingeschaltet wird
(Allzweckanwendungen und Fräsmaschinenfunktion beim Modell LH71A)
q STD/US/JPN
w 0.1/0.5/1/5/10/
00.00.01/
00.00.10/
00.01.00/
00.10.00
<Erweitert>
0.05/2/20/25/
50/100/
01.00.00
e Einstellung auf
w oder höher/
Durchmesser-
anzeige auf w
(außer Winkel)/
Polarität
r IN-1/IN-2/IN-3/
IN -
t X/Y/Z
y 0.100000 -
9.999999
u OFF/LIN Err/
SEG Err
Siehe
Abschnitt 5-5
Kompensation.
i OFF/1/2
o OFF/1/5/10/30/
60
!0 1.0000 - 20.0000

Table of Contents

Related product manuals