EasyManua.ls Logo

Magnescale LH71A - Einstellungen für Drehmaschinenfunktion; Wenn das Gerät nach dem Versand zum Ersten Mal Eingeschaltet wird (Drehmaschinenfunktion des Modells LH71 A Sowie Modell LH72)

Default Icon
Print Icon
To Next Page IconTo Next Page
To Next Page IconTo Next Page
To Previous Page IconTo Previous Page
To Previous Page IconTo Previous Page
Loading...
(G) 5-7
5. Einstellungen
LH71A / LH72
oder
(Hinweis)
Einstellwert eingeben
Hinweis 1
Detailein-
stellungen
Modell
(GENERAL)
Bestimmungsland
(STD)
Skalierung
(1.000000)
Messstabseinheits-
Auflösung
(1)
Anzeigeauflösung
(Messstabseinheits-
Auflösung)
Kompensationswert
(OFF)
Flimmerregelung
(2)
Abschaltung
(OFF)
Additionsanzeige
(2)
Ca.
2 Sekunden
Verwenden Sie zur Wahl von
Verwenden Sie , um die Einstellungen für Display 2 auszuwählen
oder
oder
Die Einstellung in Klammern ( ) ist die Werkseinstellung.
zeigt den Vorgang an, wenn die Einstellung nicht geändert wird.
Wenn der segmentierte Fehlerkompensationswert eingestellt wird, erscheint ,
und die Einheit schaltet auf den Messstabseinheits-Bezugspunkt-Erfassungsmodus um.
Hinweis 1: Verwenden Sie , um zu
zurückzukehren.
Achse wählen
Wird fur jede Achse durchgeführt. Verwenden Sie zur Erweiterung der Auswahloption.
Verwenden Sie zur Wahl des Einstellungsinhalts
Verwenden Sie zur Wahl des Einstellungsinhalts
Verwenden Sie und zur Wahl des Einstellungsinhalts
Achse wählen
Wird für jede Achse durchgeführt.
Die Einstellung (Kompensation) mit auswählen, dann die einzelnen Optionen einstellen
Kompensationswert eingeben
Kompensationswert
eingeben
Position
eingeben
Achse wählen
oder
Verwenden Sie zur Wahl des Einstellungsinhalts
Verwenden Sie zur Wahl des Einstellungsinhalts
Strom EIN
Grundein-
stellungen
Betriebsbeginn
(Bei einer Anzeigeauflösung von 0,001 mm)
Verwendung bei
q
w
e
r
t
y
i
o
u
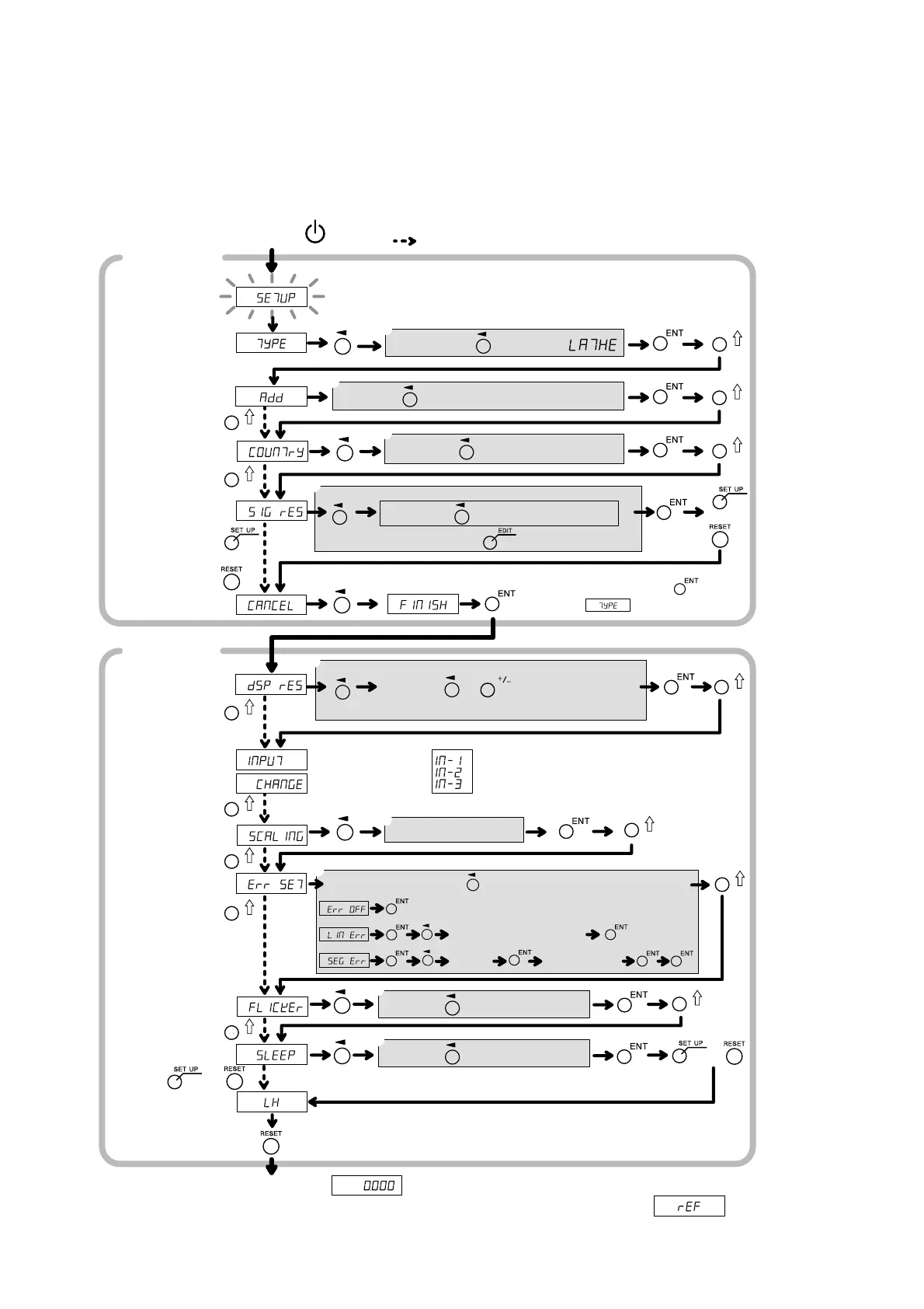
5-3. Einstellungen für Drehmaschinenfunktion
5-3-1. Wenn das Gerät nach dem Versand zum ersten Mal eingeschaltet wird
(Drehmaschinenfunktion des Modells LH71A sowie Modell LH72)
q LATHE wählen
(nur Modell
LH71A)
Das Modell LH72
verfügt nicht
über eine
Modelleinstellung.
w 2/3/2ADD3/
2ADD3/
2ADD3/
2ADD3
Siehe
Abschnitt 5-4
„Überprüfen der
Zählwerte
während der
Additionsanzeige.
e STD/US/JPN
r 0.1/0.5/1/5/10/
00.00.01/
00.00.10/
00.01.00/
00.10.00
<Erweitert>
0.05/2/20/25/
50/100/
01.00.00
t Einstellung auf
r oder höher/
Durchmesser-
anzeige auf r
(außer Winkel)/
Polarität
Die X-Achsen-
Polarität muss so
eingestellt
werden, dass
der Wert der
Schnittrichtung
bei Verwendung
der
Durchmesser-
anzeige
abnimmt.
y 0.100000 -
9.999999
u OFF/LIN Err/
SEG Err
Siehe
Abschnitt 5-5
Kompensation.
i OFF/1/2
o OFF/1/5/10/30/
60

Table of Contents

Related product manuals