EasyManua.ls Logo

Magnescale LH71A - Rückstellen der Grundeinstellungen (Allzweckanwendungen und Fräsmaschinenfunktion Beim Modell LH71 A)

Default Icon
Print Icon
To Next Page IconTo Next Page
To Next Page IconTo Next Page
To Previous Page IconTo Previous Page
To Previous Page IconTo Previous Page
Loading...
(G) 5-5
5. Einstellungen
LH71A / LH72
o
Verwenden Sie zur Wahl des Einstellungsinhalts
!0
Verwenden Sie zur Wahl des Einstellungsinhalts
!1
e
Achse wählen
Wird für jede Achse durchgeführt. Verwenden Sie zur Erweiterung der Auswahloption.
Verwenden Sie zur Wahl des Einstellungsinhalts
Verwenden Sie zur Wahl des Einstellungsinhalts
i
Strom EIN
1-Achsen/
2-Achsen-Modell
3-Aschsen-
Modell
Detailein-
stellungen
Modell
Bestimmungsland
Skalierung
(1.000000)
Messstabseinheits-
Auflösung
Anzeigeauflösung
(Messstabseinheits-
Auflösung)
Umschaltung
der Anzeige
(1-1, 2-2, 3-3)
Umschaltung des
Achsenetiketts
(1-X, 2-Y, 3-Z)
Kompensationswert
(OFF)
Flimmerregelung
(2)
Abschaltung
(OFF)
Messtaster-Radius
(5.0000)
(Ca. 3 Sekunden
lang gedrückt halten)
(Leuchtet auf blinkt)
Lampe der Bereitschaftstaste
Ca. 2
Sekunden
Verwenden Sie zur Wahl von
Hinweis 1
oder
Einstellwert eingeben
oder
nur 2-Achsen- und
3-Achsen-Modelle
nur 1-Achsen- und
2-Achsen-Modelle
Hinweis 1: Durch Drücken von oder werden die
Änderungen in den Grundeinstellungen
annulliert, und der Einstellmodus wird auf
Detaileinstellungen umgeschaltet.
oder
Die Einstellung in Klammern ( ) ist die
Werkseinstellung.
zeigt den Vorgang an, wenn die
Einstellung nicht geändert wird.
Wenn der segmentierte Fehlerkompensationswert eingestellt wird, erscheint ,
und die Einheit schaltet auf den Messstabseinheits-Bezugspunkt-Erfassungsmodus um.
r
t
y
Verwenden Sie und zur Wahl des Einstellungsinhalts
Achse wählen
Verwenden Sie zur Wahl des Einstellungsinhalts
Achse wählen
Achse wählen
Verwenden Sie zur Wahl des Einstellungsinhalts
Die Einstellung (Kompensation) mit auswählen, dann die einzelnen Optionen einstellen
Kompensationswert eingeben
Kompensationswert
eingeben
Position
eingeben
Achse wählen
Grundein-
stellungen
Betriebsbeginn
(Bei einer Anzeigeauflösung von 0,001 mm)
oder
Einstellwert eingeben
Wird für jede Achse durchgeführt.
Wird für jede Achse durchgeführt.
Wird für jede Achse durchgeführt.
q
w
u
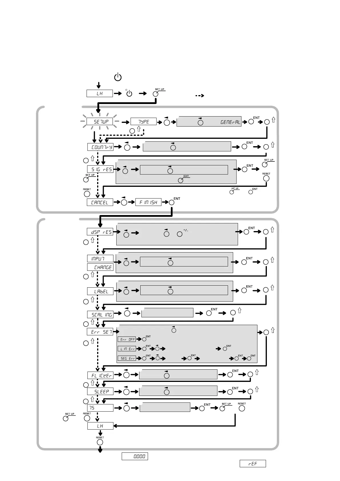
5-2-2. Rückstellen der Grundeinstellungen
(Allzweckanwendungen und Fräsmaschinenfunktion beim Modell LH71A)
Wenn die Grundeinstellungen zurückgestellt und finalisiert (FINISH) werden, werden alle Detaileinstellungen
auf ihre Werksvorgaben zurückgesetzt.
q GENERAL
wählen
w STD/US/JPN
e 0.1/0.5/1/5/10/
00.00.01/
00.00.10/
00.01.00/
00.10.00
<Erweitert>
0.05/2/20/25/50/
100/01.00.00
r Einstellung auf
e oder höher/
Durchmesser-
anzeige auf e
(außer Winkel)/
Polarität
t IN-1/IN-2/IN-3/
IN -
y X/Y/Z
u 0.100000 -
9.999999
i OFF/LIN Err/
SEG Err
Siehe
Abschnitt 5-5
Kompensation.
o OFF/1/2
!0 OFF/1/5/10/30/
60
!1 1.0000 - 20.0000
Falls Sie die Detaileinstellungen bereits eingegeben haben, notieren Sie sich
die Einstellwerte, bevor Sie die Grundeinstellungen zurückstellen oder ändern.
LH71

Table of Contents

Related product manuals