EasyManua.ls Logo

Magnescale LH71A - 通用用途 铣床功能的设定

Default Icon
Print Icon
To Next Page IconTo Next Page
To Next Page IconTo Next Page
To Previous Page IconTo Previous Page
To Previous Page IconTo Previous Page
Loading...
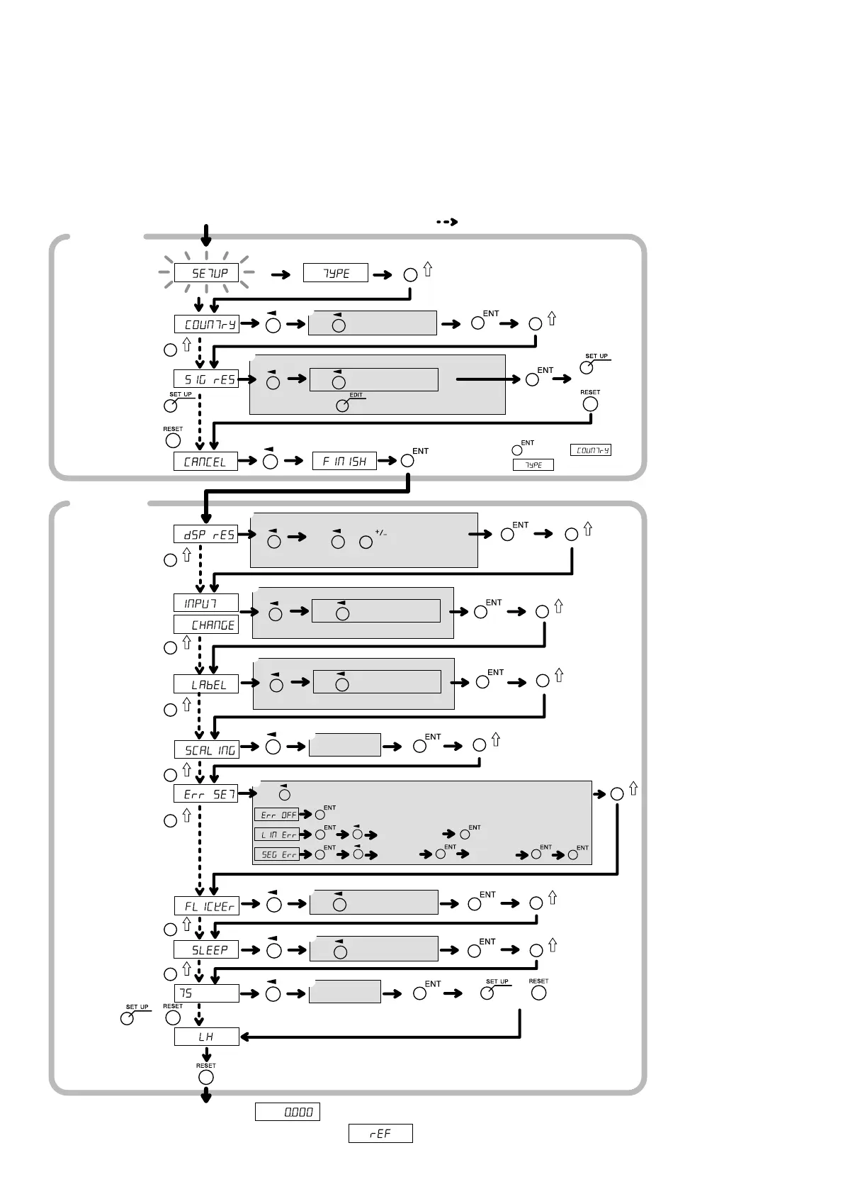
5-4 (CS)
LH71A / LH72
5. 
5-2. 󰁉󰁉
5-2-1. 󰂘 (LH71A󰁉󰁉 / )
q STD/US/JPN
w 0.1/0.5/1/5/10/
00.00.01/
00.00.10/
00.01.00/
00.10.00
<󰃻>
0.05/2/20/25/
50/100/
01.00.00
ew/
w 2 
()/
r IN-1/IN-2/IN-3/
IN -
t X/Y/Z
y 0.100000 -
9.999999
u OFF/LIN Err/
SEG Err
5-5.
󰁖
i OFF/1/2
o OFF/1/5/10/30/
60
!01.0000 -
20.0000
q
w
e
r
t
y
u
i
o
󰂘ON ()

󰁉
(󰷅0.001 )


󰁉󰁸
STD

1.000000
󰂎

1

󰂎


1-1󰷅2-2󰷅3-3
2󰆁3󰆁
1󰆁2󰆁
󰆁
1-X󰷅2-Y󰷅3-Z
󰅕
OFF
󰅙
OFF

OFF
 ( ) 

󰷅󰷅󰷅󰷅󰷅󰷅󰷅󰷅󰷅󰷅󰷅󰷅󰂑
󰆁󰃕
󰆁
󰆠1
1󰆁2󰆁

3󰆁

󰆠1󰷅󰁉󰷅󰷅󰷅󰷅
󰷅󰷅󰷅󰷅󰷅
󰂠2
󰁉󰷅󰷅󰷅󰷅󰷅󰷅󰷅󰷅󰃕
󰆁󰃕
󰆁
󰁉󰷅󰷅󰷅󰃕
󰁉󰷅󰷅󰷅󰃕
󰆁󰃕
󰁉󰷅󰷅󰷅󰃕
󰆁
󰆁󰃕
󰁉󰷅󰷅󰷅󰃕
󰆁
󰅕
󰁉󰷅󰷅󰷅󰃕 () 󰃕
󰅕
󰅕
󰅣
󰆁󰃕
󰁉󰷅󰷅󰷅󰃕
󰁉󰷅󰷅󰷅󰃕
󰁉󰷅󰷅󰷅󰷅󰷅󰷅󰃻󰃕
!0


(5.0000)
󰅕

Table of Contents

Related product manuals