EasyManua.ls Logo

Magnescale LH71A - Rückstellen der Detaileinstellungen (Drehmaschinenfunktion des Modells LH71 A Sowie Modell LH72)

Default Icon
Print Icon
To Next Page IconTo Next Page
To Next Page IconTo Next Page
To Previous Page IconTo Previous Page
To Previous Page IconTo Previous Page
Loading...
(G) 5-9
5. Einstellungen
LH71A / LH72
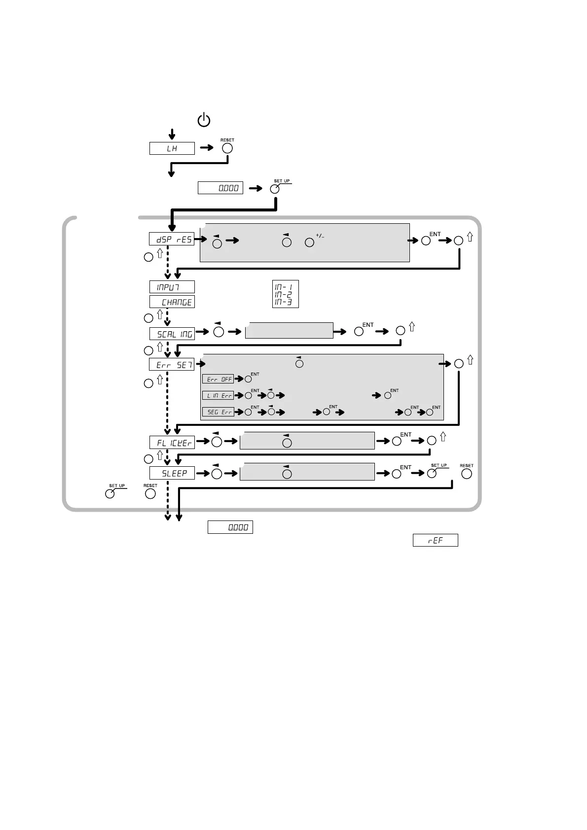
Verwenden Sie und zur Wahl des Einstellungsinhalts
Achse wählen
Wird für jede Achse durchgeführt.
Die Einstellung (Kompensation) mit auswählen, dann die einzelnen Optionen einstellen
Kompensationswert eingeben
Kompensationswert
eingeben
Position
eingeben
Achse wählen
oder
Verwenden Sie zur Wahl des Einstellungsinhalts
Verwenden Sie zur Wahl des Einstellungsinhalts
Einstellwert eingeben
Detailein-
stellungen
Skalierung
Anzeigeauflösung
Kompensationswert
Flimmerregelung
Abschaltung
Istwertanzeige
oder
Wenn der segmentierte Fehlerkompensationswert eingestellt wird, erscheint ,
und die Einheit schaltet auf den Messstabseinheits-Bezugspunkt-Erfassungsmodus um.
Strom EIN
Betriebsbeginn
(Bei einer Anzeigeauflösung von 0,001 mm)
(Hinweis)
Verwendung bei
q
w
e
r
t
5-3-3. Rückstellen der Detaileinstellungen (Drehmaschinenfunktion des Modells LH71A sowie Modell LH72)
q Einstellung auf
Messstabseinheit-
Auflösung oder
höher/
Durchmesser-
anzeige auf
Messstabseinheit-
Auflösung
(außer Winkel)/
Polarität
Die X-Achsen-
Polarität muss so
eingestellt
werden, dass
der Wert der
Schnittrichtung
bei Verwendung
der
Durchmesser-
anzeige
abnimmt.
w 0.100000 -
9.999999
e OFF/LIN Err/
SEG Err
Siehe
Abschnitt 5-5
Kompensation.
r OFF/1/2
t OFF/1/5/10/30/
60

Table of Contents

Related product manuals