EasyManua.ls Logo

Magnescale LH71A - 重新设定详细设定时 (Lh71 A车床功能 Lh72)

Default Icon
Print Icon
To Next Page IconTo Next Page
To Next Page IconTo Next Page
To Previous Page IconTo Previous Page
To Previous Page IconTo Previous Page
Loading...
LH71A / LH72
(CS) 5-9
5. 
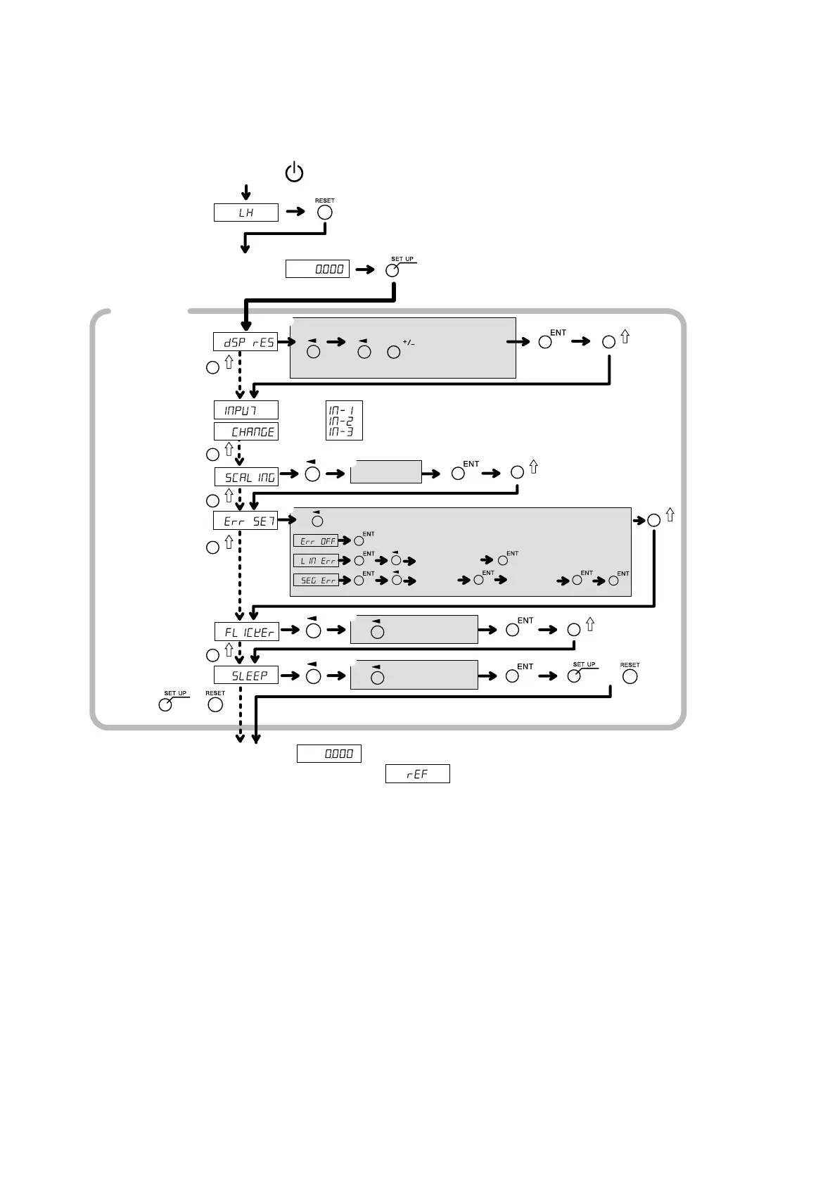
5-3-3. 󰅸 (LH71ALH72)
q 󰂎
/
󰂎
 2 
()/
󰅑
 X 󰆁

w 0.100000 -
9.999999
e OFF/LIN Err/
SEG Err
5-5.
󰁖
r OFF/1/2
t OFF/1/5/10/30/
60
󰁉󰷅󰷅󰷅󰷅󰷅󰷅󰷅󰷅󰷅󰃕
󰆁󰃕
󰆁
󰅕
󰁉󰷅󰷅󰷅󰃕


(1.000000)

󰂎

󰅕
(OFF)
󰅙
(OFF)

(OFF)
󰂾󰅕
󰁉
(󰷅0.001 )
󰁉󰷅󰷅󰷅󰃕 () 󰃕
󰷅󰷅󰷅󰷅󰷅󰷅󰷅󰷅󰷅󰷅󰷅󰷅󰂑
󰅕
󰅕
󰅣
󰆁󰃕
󰁉󰷅󰷅󰷅󰃕
󰂘 ON ()
(󰆠)
󰂾󰷅󰷅󰷅󰷅󰷅󰷅󰷅󰁉
q
w
e
r
t

Table of Contents

Related product manuals