EasyManua.ls Logo

Magnescale LH71A - Page 27

Default Icon
Print Icon
To Next Page IconTo Next Page
To Next Page IconTo Next Page
To Previous Page IconTo Previous Page
To Previous Page IconTo Previous Page
Loading...
LH71A / LH72
(J) 5-9
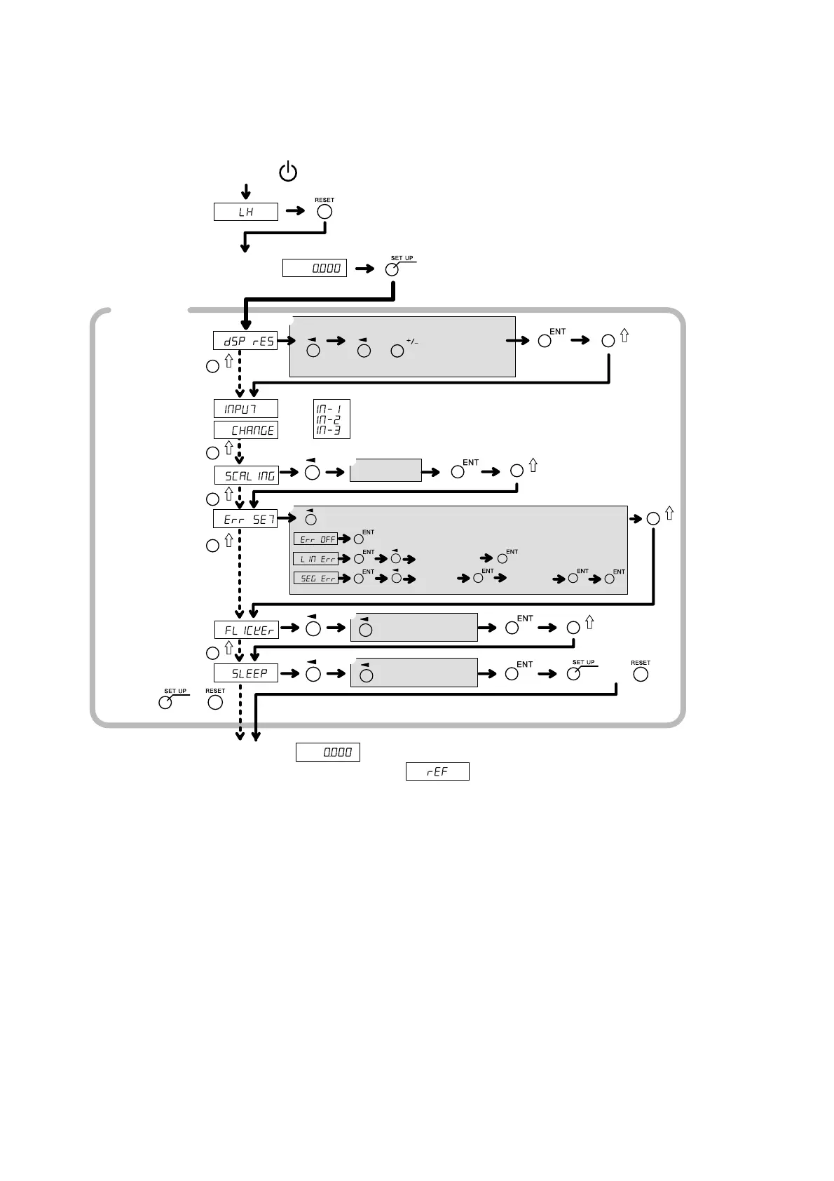
5-3-3. 詳細設定を再設定する場合(LH71A旋盤仕様、LH72)
q 測長ユニット分
解能の設定以
上/測長ユニッ
ト分解能の倍表
示(角度除く)/極
X軸の極性
は、直径表示
する場合、切
込み方向が減
算すること
w 0.100000
9.999999
e OFF/LINErr/
SEGErr
*「5-5.補正に
ついて」参照
r OFF/1/2
t OFF/1/5/10/30/
60
と  で設定内容選択
軸選択
各軸に対して行なう。
設定値入力
で設定内容選択
で設定内容選択
詳細設定
スケーリング
表示分解能
補正値
ちらつき防止
スリープ
電源ON
現在値表示
使用開始
(表示分解能0.001mmの場合)
で設定内容(補正)選択後、各選択内容の設定
*区間誤差補正を設定した場合は、    が表示され、原点取得モードに入ります。
補正値入力
補正値入力
位置入力
軸選択
または
または
q
w
e
r
t
(注)
のままで使用
5.設定

Table of Contents

Related product manuals