EasyManua.ls Logo

Manitowoc Grove GMK4100L-1 - Page 27

Manitowoc Grove GMK4100L-1
1016 pages
To Next Page IconTo Next Page
To Next Page IconTo Next Page
To Previous Page IconTo Previous Page
To Previous Page IconTo Previous Page
Loading...
Additional pages GMK4100L-1 3 302 710 en 23
16.01.2018
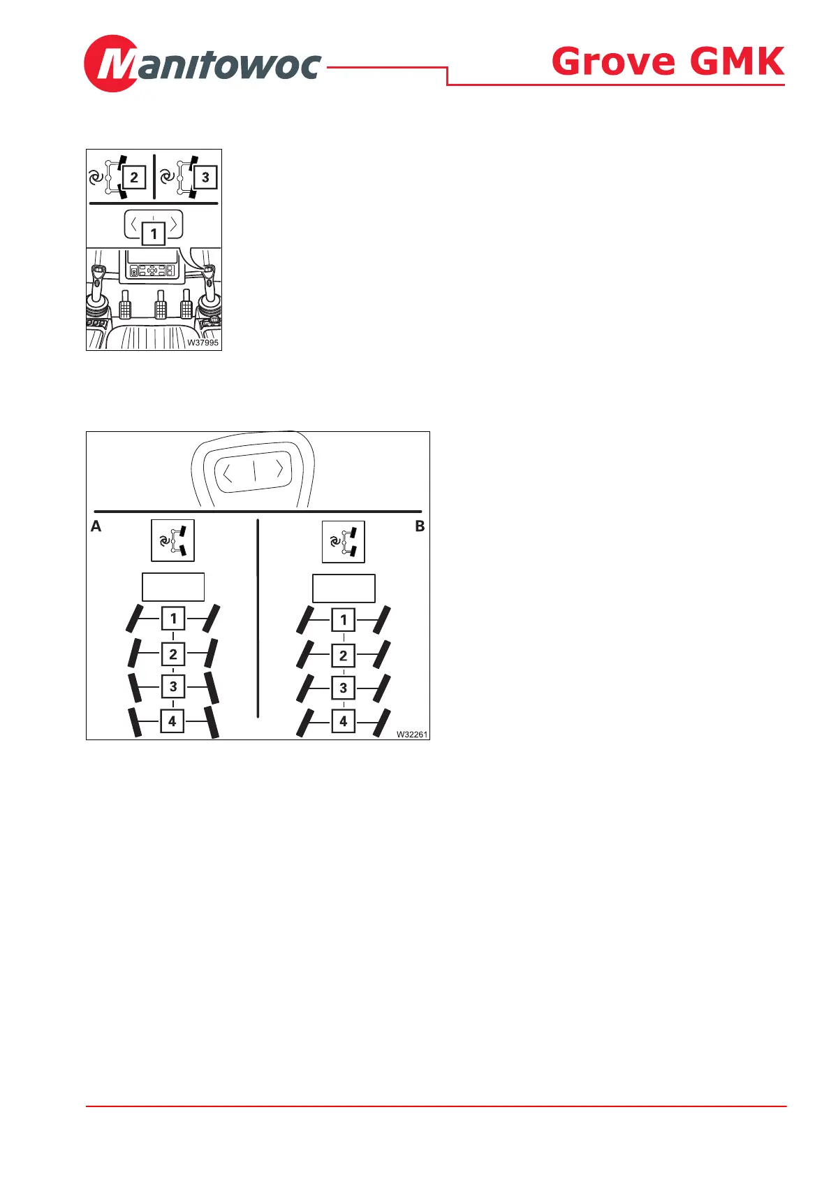
Steering with separate steering – automatic
The symbol (2) or (3) is displayed for the desired steering mode.
Steer the 1st and 2nd axle lines with the button (1).
The axle lines are steered as long as you keep the button pressed or until an
end position is reached.
The electronics will register the steering angle on the 1st and 2nd axle lines
and steer the wheels of the 3rd and 4th axle lines correspondingly.
(A) – When driving around corners
The 3rd and 4th axle lines are steered in the
opposite direction to the 1st and 2nd axle
lines.
(B) – For crab travel mode
The 3rd and 4th axle lines are steered in the
same direction as the 1st and 2nd axle lines.
s
To turn to the left: Press button (1) to the left.
To turn to the right:
Press button (1) to the right.

Table of Contents

Related product manuals