EasyManua.ls Logo

Moxy MT 31 - Circuit Diagram Controller; Coding Controller

Default Icon
931 pages
Print Icon
To Next Page IconTo Next Page
To Next Page IconTo Next Page
To Previous Page IconTo Previous Page
To Previous Page IconTo Previous Page
Loading...
TRANSMISSION
Ch 2 page 24 Ch 2 page 25
TRANSMISSION
SHOP MANUAL MT26/31 - 08.2006 SHOP MANUAL MT26/31 - 08.2006
TRANSMISSION
Ch 2 page 24 Ch 2 page 25
TRANSMISSION
SHOP MANUAL MT26/31 - 08.2006 SHOP MANUAL MT26/31 - 08.2006
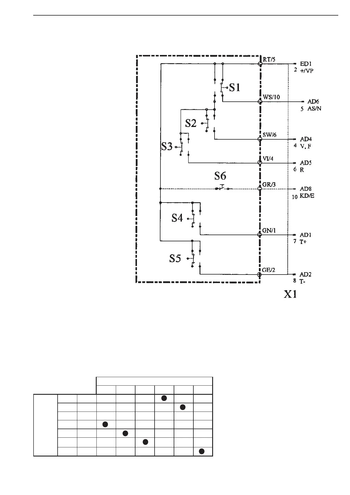
Circuit diagram controller
Coding controller
Position
V R N T+ T- KD/E
AD1 T+
AD2 T-
AD4 V
AD5 R
AD6 AS/N
AD8 KD/E
FUNK-
TION
SWI-
TCH

Table of Contents

Related product manuals