EasyManua.ls Logo

Moxy MT 31 - Fuel System; Schematic Diagram of the Fuel System; Overflow Valve

Default Icon
931 pages
Print Icon
To Next Page IconTo Next Page
To Next Page IconTo Next Page
To Previous Page IconTo Previous Page
To Previous Page IconTo Previous Page
Loading...
Engine
SHOP MANUAL MT26-31 - 06.2005
Tier-3 710655-
Ch 1 page 13
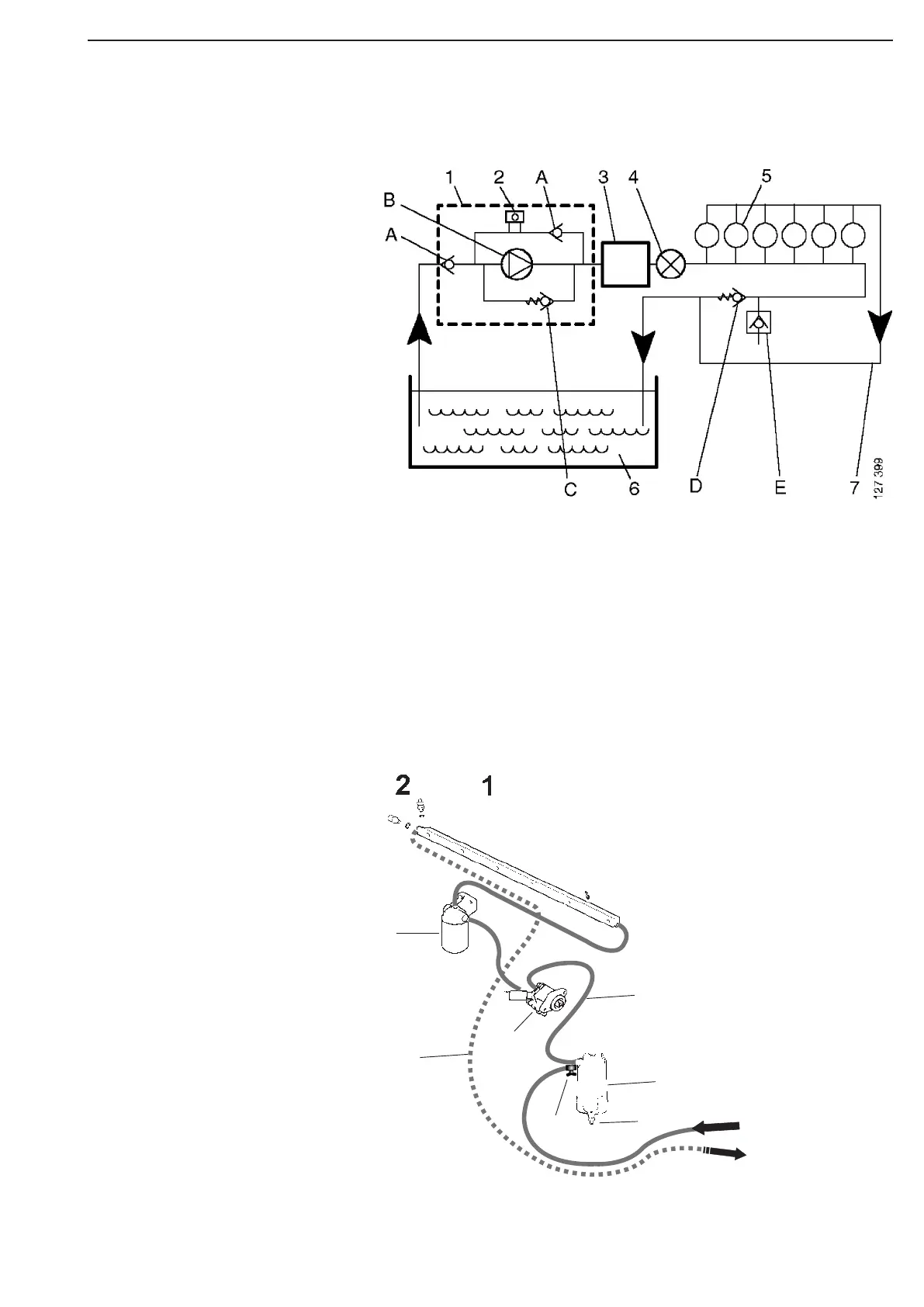
Fuel system
1 Feed pump
2 Hand pump
3 EMS control unit
4 Fuel filter
5 Cylinders
6 Fuel tank
7 Return line for excess fuel
A Check valve
B Gear pump (feed pump)
C Safety valve
D Pressure relief valve
E Drain nipple
Schematic diagram of the fuel system
Overflow valve
The purpose of the overflow valve is to limit the pressure in the
fuel system and continuously vent it. The overflow valve ensures
that the fuel circulates round the system and that there is always
fuel in the injection pump for cooling, lubrication and injection.
Opening pressure is 0.6 - 0.8 bar.
Working pressure is approx. 1 bar.
1 Fuel rail
2 Pressure relief valv
3 Fuel filter
4 Feed pump / hand pump
5 Shut-off cock
6 Oil hose water filter - feedpump
7 Water separating prefilter
8 Retur line
9 Drain valve
Supply from tank
Retur to tank
3
4
8
6
7
5
9

Table of Contents

Related product manuals