EasyManua.ls Logo

Moxy MT 31 - Machining the Valve Seats Insert

Default Icon
931 pages
Print Icon
To Next Page IconTo Next Page
To Next Page IconTo Next Page
To Previous Page IconTo Previous Page
To Previous Page IconTo Previous Page
Loading...
Engine
SHOP MANUAL MT26-31 - 06.2005
Tier-3 710655-
Ch 1 page 53
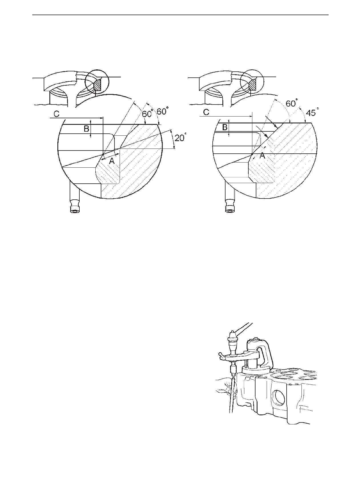
Machining the valve seats insert
Machining values
Inlet valve
A = 1,9 - 2,6 mm
B = 0,75 - 1,8 mm
C = diameter 39,8 +/- 0,5 mm
(setting value for machining tool)
Exhaust valve
A = 1,8 - 2,6 mm
B = 0,66 - 1,8 mm
C = diameter 37,9 +/- 0,5 mm
(setting value for machining tool)
Work description
The following description applies to valve seat
cutter 512265.
Machining values and over-sized valve seat
inserts, see Specifications and above.
1.
Check that the contact surface and the
magnetic base are smooth and clean. Clean
the valve bushings.
2.
Select the largest spindle which slides
easily into the valve guide.Insert the guide
spindle and turn the feed screw to its
uppermost position.
512265

Table of Contents

Related product manuals