EasyManua.ls Logo

Moxy MT 31 - Lay out 6 WG-260

Default Icon
931 pages
Print Icon
To Next Page IconTo Next Page
To Next Page IconTo Next Page
To Previous Page IconTo Previous Page
To Previous Page IconTo Previous Page
Loading...
SHOP MANUAL MT26/31 - 08.2006 SHOP MANUAL MT26/31 - 08.2006
SHOP MANUAL MT26/31 - 08.2006 SHOP MANUAL MT26/31 - 08.2006
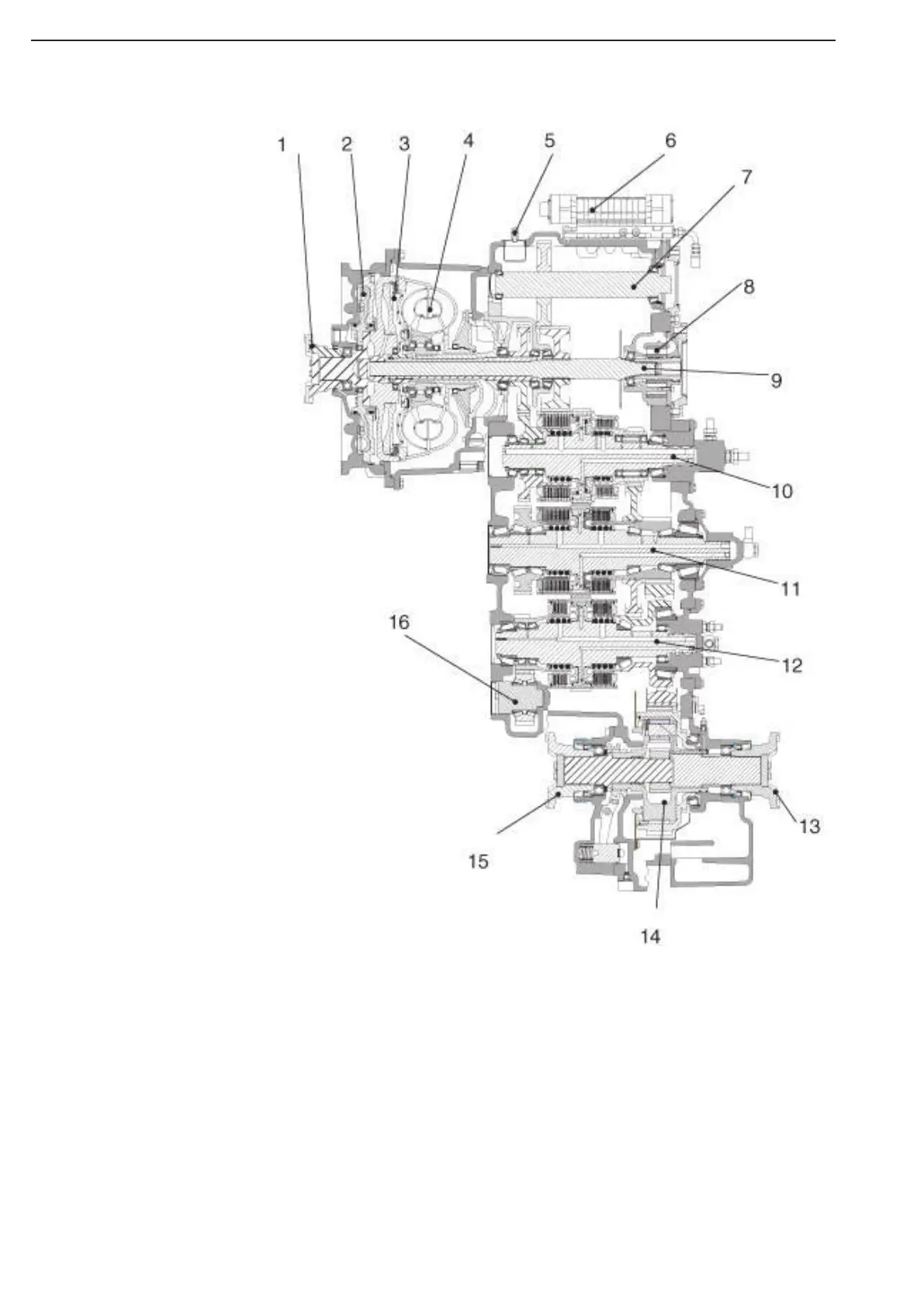
TRANSMISSION
Ch 2 page 56
Lay out 6WG-260
1 = Input flange - Drive via universal shaft
2 = retarder
3 = WK
4 = Converter
5 = Breather
6 = Electrohydraulic controll unit
7 = 2nd Power take- off
8 = Transmission pump
9 = 1st Power take- off
10 = Clutch axle “KV/K1”
11 = Clutch axle “KR/K2”
12 = Clutch axle “K¤/K3”
13 = Output flange (rear side)
14 = Crawler speed
15 = Output flange (converter side)
16 = Countershaft

Table of Contents

Related product manuals