EasyManua.ls Logo

Moxy MT 31 - Transmission Diagram

Default Icon
931 pages
Print Icon
To Next Page IconTo Next Page
To Next Page IconTo Next Page
To Previous Page IconTo Previous Page
To Previous Page IconTo Previous Page
Loading...
SHOP MANUAL MT26/31 - 08.2006 SHOP MANUAL MT26/31 - 08.2006
SHOP MANUAL MT26/31 - 08.2006 SHOP MANUAL MT26/31 - 08.2006
TRANSMISSION
Ch 2 page 52
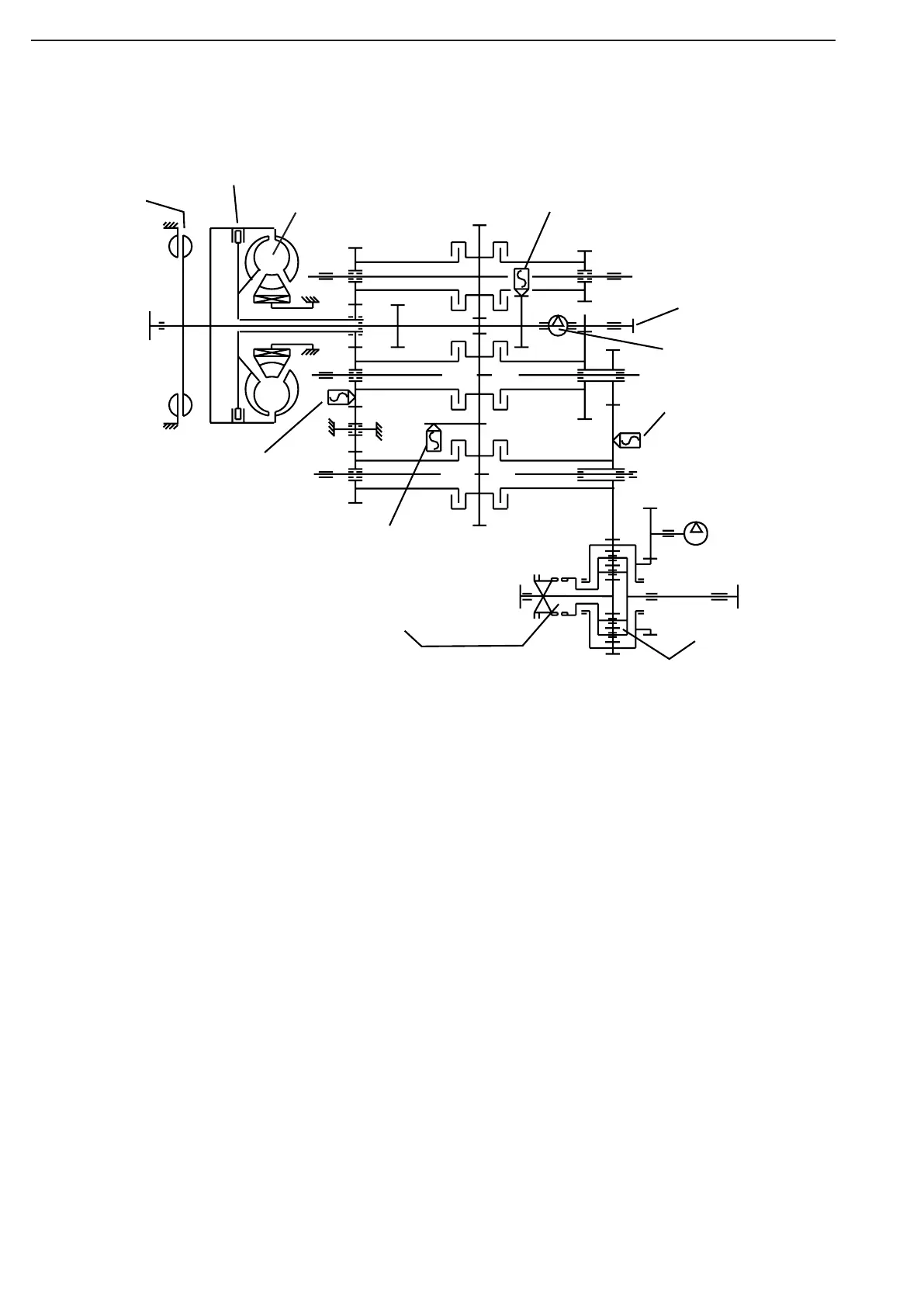
Transmission diagram
606 = Inductive transmitter
n – Engine and
608 = Inductive transmitter
n – Central gear train
610 = Speed sensor
n – Output
612 = Inductive transmitter
n – Turbine
Retarder
WK
Converter
606
Main pump
Pump
610
Output
Differential
Engagement and
Disangagement
Differential lock
612
608
Input
KV
K1
KR
K2
K4
K3

Table of Contents

Related product manuals