EasyManua.ls Logo

Renesas H8 Series - Page 223

Renesas H8 Series
697 pages
Print Icon
To Next Page IconTo Next Page
To Next Page IconTo Next Page
To Previous Page IconTo Previous Page
To Previous Page IconTo Previous Page
Loading...
Section 6 ROM
Rev. 7.00 Mar 10, 2005 page 181 of 652
REJ09B0042-0700
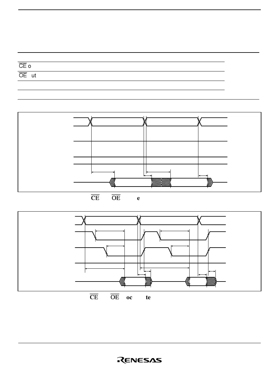
Table 6.16 AC Characteristics in Memory Read Mode
Conditions: V
CC
= 3.3 V ±0.3 V, V
SS
= 0 V, T
a
= 25°C ±5°C
Item Symbol Min Max Unit Notes
Access time t
acc
— 20 µs Figure 6.15
CE
output delay time t
ce
— 150 ns Figure 6.16
OE
output delay time t
oe
— 150 ns
Output disable delay time t
df
— 100 ns
Data output hold time t
oh
5—ns
CE
A15−A0
OE
WE
I/O7−I/O0
t
acc
t
acc
t
oh
t
oh
Address stableAddress stable
Figure 6.15
CE
and
OE
Enable State Read Timing Waveforms
CE
A15−A0
OE
WE
I/O7−I/O0
t
acc
t
ce
t
oe
t
oe
t
ce
t
acc
t
oh
t
df
t
df
t
oh
Address stableAddress stable
Figure 6.16
CE
and
OE
Clock System Read Timing Waveforms

Table of Contents

Other manuals for Renesas H8 Series

Related product manuals