EasyManua.ls Logo

Yamaha F150B - Page 281

Yamaha F150B
458 pages
Print Icon
To Next Page IconTo Next Page
To Next Page IconTo Next Page
To Previous Page IconTo Previous Page
To Previous Page IconTo Previous Page
Loading...
8-2
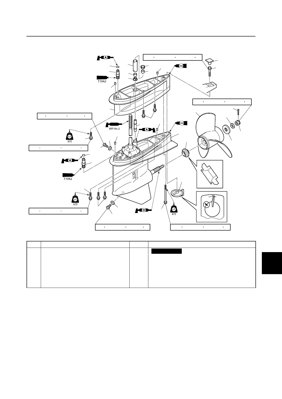
Lower unit (regular rotation model)
0
1
2
3
4
5
6
7
8
9
10
A
No. Part name Q’ty Remarks
18 Cotter pin 1
Not reusable
19 Propeller nut 1
20 Spacer 1
21 Trim tab 1
22 Bolt 1 M10 × 200 mm
23 Drain screw 1
21
15
14
17
18
19
20
16
2
2
11
12
10
10
9
8
2
7
13
5
6
6
5
10
10
2
23
12
47 N m (4.7 kgf m, 34.7 ft lb)
47 N m (4.7 kgf m, 34.7 ft lb)
42 N m (4.2 kgf m, 31.0 ft lb)
54 N m (5.4 kgf m, 39.8 ft lb)
9 N m (0.9 kgf m, 6.6 ft lb)
9 N m (0.9 kgf m, 6.6 ft lb)
22
47 N m (4.7 kgf m, 34.7 ft lb)
1
3
4
4
3

Table of Contents

Related product manuals