EasyManua.ls Logo

Yamaha F150B - Assembling the Reverse Gear; Assembling the Drive Shaft Housing; Installing the Drive Shaft; Installing the Propeller Shaft Housing Assembly

Yamaha F150B
458 pages
Print Icon
To Next Page IconTo Next Page
To Next Page IconTo Next Page
To Previous Page IconTo Previous Page
To Previous Page IconTo Previous Page
Loading...
8-63
LOWR
Lower unit
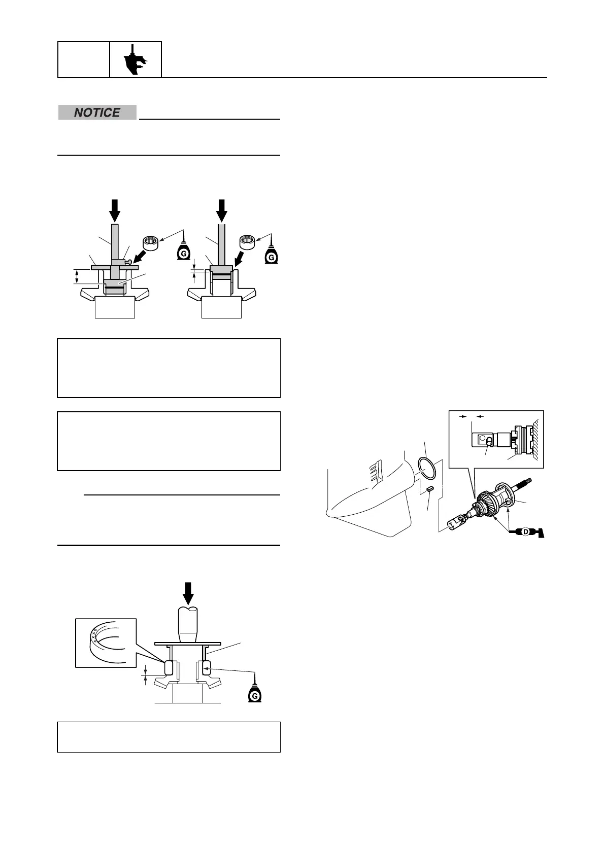
Assembling the reverse gear
Do not reuse the bearing, always replace
it with a new one.
1. Install needle bearings into the reverse
gear to the specified depth.
TIP:
When using the driver rod, do not strike the
special service tool in a manner that will force
the stopper c out of place.
2. Install the roller bearing inner race.
Assembling the drive shaft housing
See “Assembling the drive shaft housing” (8-
63).
Installing the drive shaft
1. Install the reverse gear assembly into the
lower case.
2. For installing the drive shaft, see
“Installing the drive shaft” (8-20) step
2–step 6.
Installing the propeller shaft housing
assembly
1. Set the shift rod joint a and dog clutch
b to the N position.
2. Apply grease to a new O-ring and
propeller shaft housing assembly c.
3. Install the original shim(s) (T2) d, the
propeller shaft housing assembly c, and
the key e.
4. For installing the ring nut, see “Installing
the propeller shaft housing assembly” (8-
20) step 5–step 7.
Needle bearing attachment a:
90890-06612
Driver rod SS b: 90890-06604
Bearing depth plate c: 90890-06603
Depth a:
20.95–21.45 mm (0.825–0.844 in)
Depth b:
4.45–4.95 mm (0.175–0.195 in)
Bearing inner race attachment d:
90890-06660
a
a
bb
c
a
b
c
d
L
FRN
d
e
a
b
c

Table of Contents

Related product manuals