EasyManua.ls Logo

Yamaha F150B - Propeller Shaft Housing (Regular Rotation Model)

Yamaha F150B
458 pages
Print Icon
To Next Page IconTo Next Page
To Next Page IconTo Next Page
To Previous Page IconTo Previous Page
To Previous Page IconTo Previous Page
Loading...
8-8
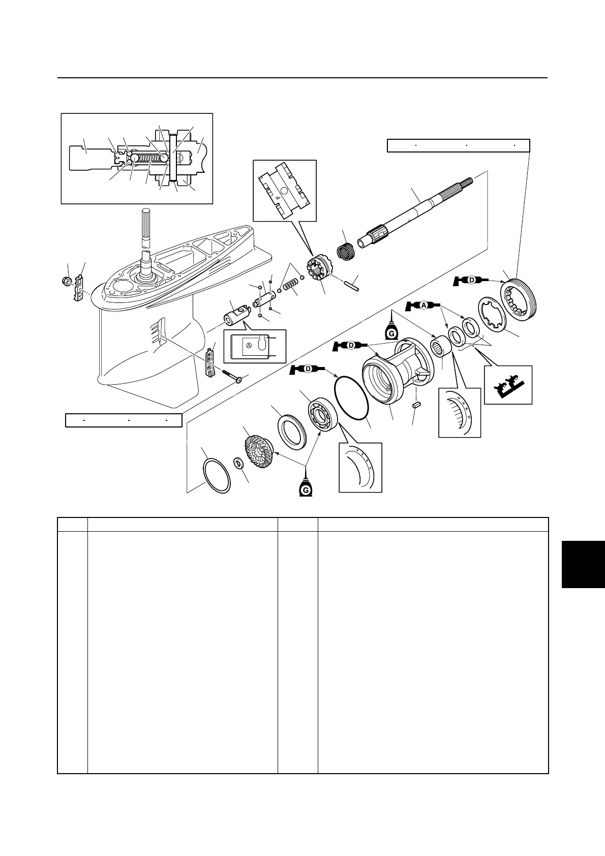
Propeller shaft housing (regular rotation model)
0
1
2
3
4
5
6
7
8
9
10
A
Propeller shaft housing (regular rotation model)
No. Part name Q’ty Remarks
1 Self-locking nut 1
2 Water inlet cover (STBD) 1
3 Shift rod joint 1
4Ball 2
5 Shift slider 1
6Ball 2
7Ball 2
8Spring 1
9 Propeller shaft 1
10 Cross pin 1
11 Dog clutch 1
12 Spring 1
13 Screw 1 M5 × 54 mm
14 Water inlet cover (PORT) 1
15 Shim (T2)
16 Reverse gear 1
17 Thrust washer 1
5 N m (0.5 kgf m, 3.7 ft lb)
143 N m (14.3 kgf m, 105.5 ft lb)
1
2
3
4
6
7
11
15
26
16
17
18
25
24
23
22
21
20
19
10
8
9
12
4
13
14
6
3
5
4
7
6
10
9
8
6
7
4
11
5
12
Water pump and shift rod (regular rotation model)
/ Propeller shaft housing (regular rotation model)

Table of Contents