EasyManua.ls Logo

ABB AC 800F - Fig. 7-9 LD 800 P Block Diagram

ABB AC 800F
379 pages
Print Icon
To Next Page IconTo Next Page
To Next Page IconTo Next Page
To Previous Page IconTo Previous Page
To Previous Page IconTo Previous Page
Loading...
7 Functional Description of the Fieldbus Modules
7-19
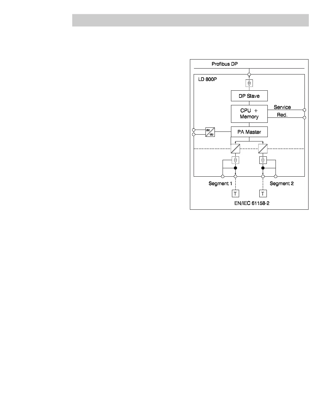
Features of the Profibus linking device LD 800P
Conversion from DP to two PA
lines
Baud rates: DP max. 12 Mbauds,
PA 31.25 kbauds
Redundancy operation possible,
bumpless toggle between
Primary and Secondary,
alignment via redundancy link
Redundant power supply 24 V
DC with monitoring function and
generation of a power-fail signal
Electrical isolation between DP
and PA and between the two PA
lines
Supply of the bus via power
conditioner with external power
supply
EEPROM for operating
parameters
Status and error indicators
Fig. 7-9 LD 800P block diagram
DP-connector, 9-pin Sub-D, PA connection via pluggable screw terminals
Debugging interface for connection of a serial terminal

Table of Contents

Other manuals for ABB AC 800F

Related product manuals