EasyManua.ls Logo

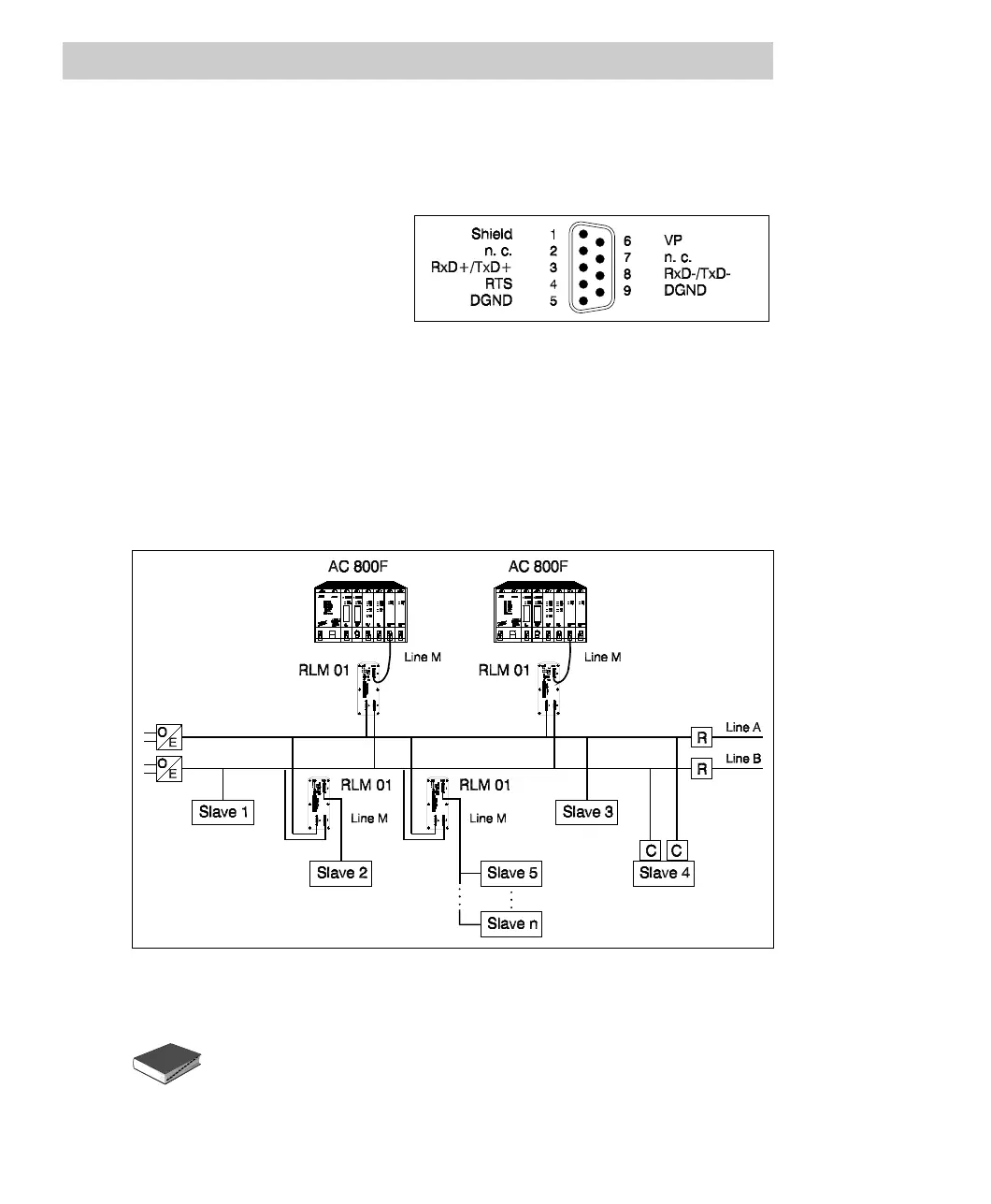
ABB AC 800F - Fig. 4-42 Line Redundancy

ABB AC 800F
379 pages
Print Icon
To Next Page IconTo Next Page
To Next Page IconTo Next Page
To Previous Page IconTo Previous Page
To Previous Page IconTo Previous Page
Loading...
4 Cabling the AC 800F
4-66
Installing an RLM 01 module
The redundant Profibus lines are connected to ports A and B. Port M is to be used for
the not redundant Profibus line to the master or one of the slaves.
All three Profibus ports, i.e. A, B
and M, have the same 9-pin Sub-
D connectors (sockets). The pin
assignment is in accordance with
the Profibus standard.
Fig. 4-41 Connector pin assignment of RLM 01
If the A/B ports of an RLM 01 module are located at the start or end of a bus segment,
two connector plugs with integrated bus terminating resistors must be provided. If the
M port resides at the start or end of a Profibus, one connector plug with integrated bus
terminating resistors must be provided. When connecting a Profibus segment to either
of the three ports A, B and M, observe the installation instructions for normal (not
redundant) Profibus cabling.
Fig. 4-42 Line redundancy
For details about Profibus DP technology, redundancy and installation
and the RLM 01 module please contact your ABB customer service.

Table of Contents

Other manuals for ABB AC 800F

Related product manuals