EasyManua.ls Logo

Agilent Technologies 4288A - Reading out the Measurement Result

Agilent Technologies 4288A
289 pages
Print Icon
To Next Page IconTo Next Page
To Next Page IconTo Next Page
To Previous Page IconTo Previous Page
To Previous Page IconTo Previous Page
Loading...
234 Appendix B
Information for Replacing 4278A with 4288A
Example of Replacing Major Functions (comparison of programs)
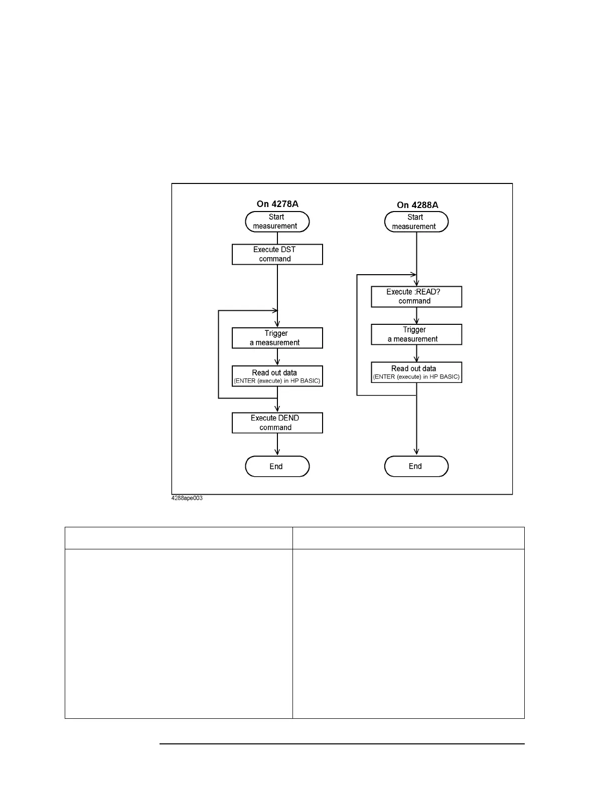
Reading out the measurement result
Continuous data output (spew-out mode)
The 4288A does not provide a continuous data output function (spew-out mode). However,
as shown in the following figure, by executing the :READ? command and then supplying
a trigger when executing measurement, you can read out a measurement result after
completion of measurement that is similar to the as-is data output of the 4278A.
Table B-20 Comparison of programs used to read out measurement results
4278A 4288A
10 REAL Pri (1:5),Sec (1:5)
20 ASSIGN @Agt4278a TO 717
30 OUTPUT @Agt4278a;"DBIN0"
40 !
50 !
60 OUTPUT @Agt4278a;"TRIG2"
70 OUTPUT @Agt4278a;"DST"
80 FOR I=1 TO 5
90 !
100 PRINT "Wait for External Trigger!!"
110 ENTER @Agt4278a;Pri (I),Sec (I)
120 NEXT I
130 OUTPUT @Agt4278a;"DEND"
140 !
150 PRINT " Pri "," Sec "
160 FOR I=1 TO 5
170 PRINT Pri (I),Sec (I)
180 NEXT I
190 !
200 END
10 REAL Pri (1:5),Sec (1:5)
20 ASSIGN @Agt4288a TO 717
30 OUTPUT @Agt4288a;":CALC:COMP OFF"
40 !
50 OUTPUT @Agt4288a;":ABOR"
60 OUTPUT @Agt4288a;":TRIG:SOUR EXT"
70 !
80 FOR I=1 TO 5
90 OUTPUT @Agt4288a;":READ?"
100 PRINT "Wait for External Trigger!!"
110 ENTER @Agt4288a;Dummy,Pri (I),Sec (I)
120 NEXT I
130 !
140 !
150 PRINT " Pri "," Sec "
160 FOR I=1 TO 5
170 PRINT Pri (I),Sec (I)
180 NEXT I
190 !
200 END

Table of Contents

Related product manuals