EasyManua.ls Logo

Data General Service ECLIPSE MV/7800 - Page 108

Default Icon
167 pages
Print Icon
To Next Page IconTo Next Page
To Next Page IconTo Next Page
To Previous Page IconTo Previous Page
To Previous Page IconTo Previous Page
Loading...
FS-12711
HEX
HD
SCREW
BOTH
SIDES
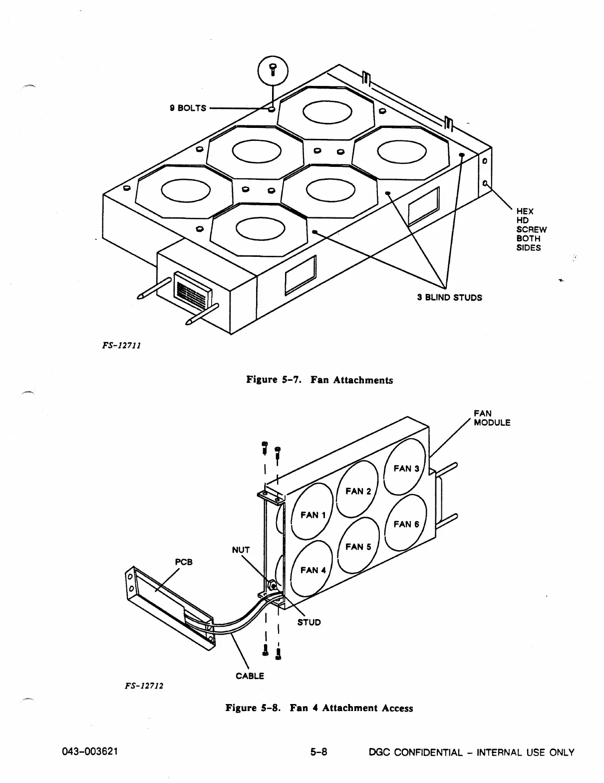
Figure 5-7. Fan Attachments
FAN
MODULE
CABLE
FS-12712
Figure 5-8. Fan 4 Attachment Access
043-003621
5-8
DGC
CONFIDENTIAL - INTERNAL USE ONLY

Table of Contents