EasyManua.ls Logo

Fuji Xerox Color 550 - Scale Adjustment

Fuji Xerox Color 550
314 pages
Print Icon
To Next Page IconTo Next Page
To Next Page IconTo Next Page
To Previous Page IconTo Previous Page
To Previous Page IconTo Previous Page
Loading...
8 Appendix
288
Appendix
8
Entering a positive or negative value adjusts the squareness as shown below.
4 Press [Save].
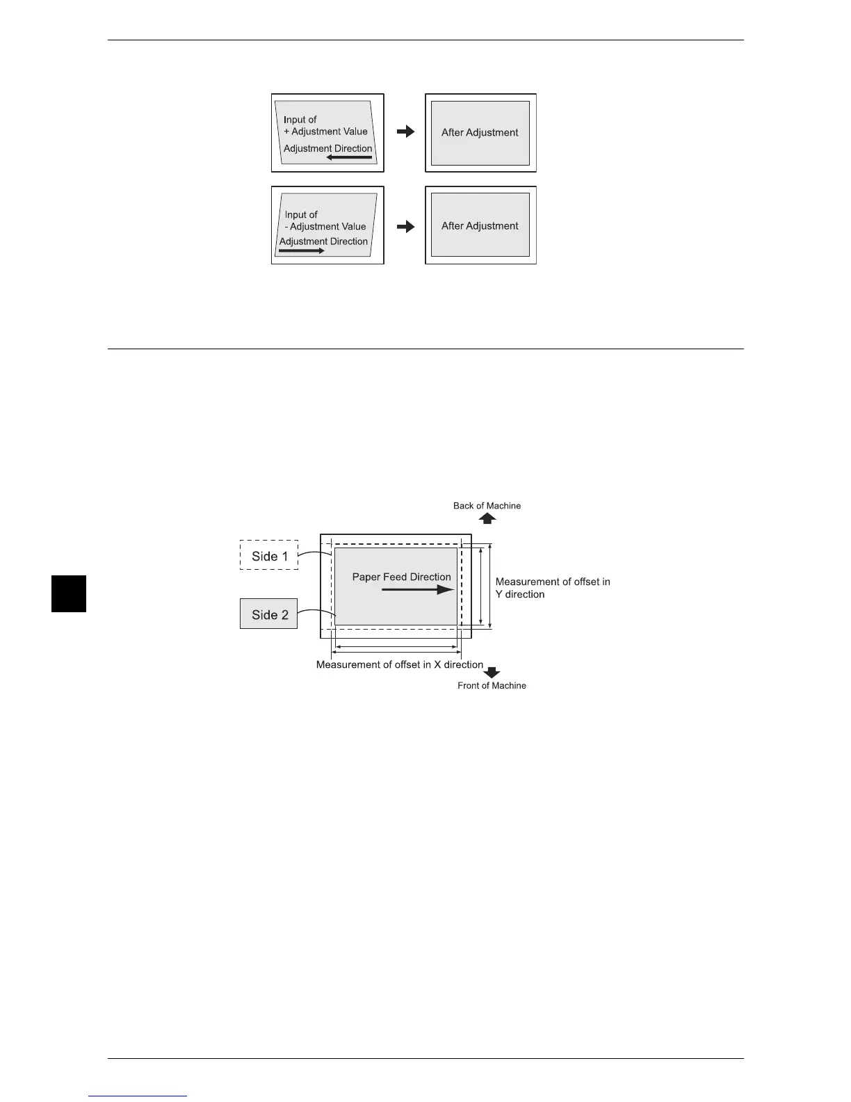
Scale Adjustment
Adjust the size (scale) of the image in the paper feed direction and the vertical direction
in relation to the paper feed direction in 0.025% increments for each of sides 1 and 2.
Specify a positive value when you want to increase the scale, and a negative value
when you want to reduce it.
1 Check the sample printout, and measure the scale offset amount that occurred.
The scale may become a negative value depending on the scale offset amount.
z
Paper feed direction: X direction scale
X direction scale offset amount = image actual measurement length in the X direction
- image reference length in the X direction
X direction scale correction amount = -1 × (X direction scale offset amount ÷ image
reference length in the X direction) × 100
z
Vertical direction in relation to the paper feed direction: Y direction scale
Y direction scale offset amount = image actual measurement length in the Y direction
- image reference length in the Y direction
Y direction scale correction amount = -1 × (Y direction scale offset amount ÷ image
reference length in the Y direction) × 100

Table of Contents

Other manuals for Fuji Xerox Color 550

Related product manuals