EasyManua.ls Logo

MyBinding DC-545HC - Removing the Optional Slitter 1 and the Optional Slitter 2

Default Icon
175 pages
Print Icon
To Next Page IconTo Next Page
To Next Page IconTo Next Page
To Previous Page IconTo Previous Page
To Previous Page IconTo Previous Page
Loading...
76
(11) Removing the Optional Slitter 1 and
the Optional Slitter 2
q Remove the cover R unit from the DC-545.
\See page 49
w Remove the cover L unit from the DC-545.
\See page 50
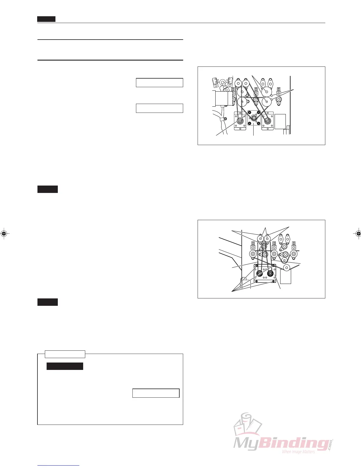
e Loosen the 4 screws on the motor plate, and remove
the timing belt. (1 position)
r Take out the screw, and remove the clamper.
(2 positions)
t Face the key groove on the shaft downwards, and
pull it out on the operation side. (2 positions)
NOTE :
Do not drop the bearings from opposite the
operation side into the machinery.
(2 positions)
Do not drop the optional slitter 1 or the
optional slitter 2 into the machinery.
(4 positions)
y Loosen the 4 screws on the motor plate on optional
slitter 1 and optional slitter 2, and remove the
position belt. (2 positions)
u Take out the 3 screws, and remove the lead screw.
(2 Positions)
NOTE :
Do not drop the collar or disc that are on the
lead screw into the machinery.
Do not install the optional slitter 1 and the
optional slitter 2 in the wrong positions
during assembly.
Reinstallation
IMPORTANT:
Make adjustments after installing the
slitter.
\See page 95
Adjust the play in the Lead Screw to be
less than 0.1 mm.
Motor Plate
Shafts
Clampers
& Screws
Timing Belt
Lead Screws Screws
Screws
Screws
Position
Belt
Position Belt
Motor Plate
Chap.3
m Center Slitter Section

Table of Contents

Related product manuals