EasyManua.ls Logo

Still 6219 - Page 192

Still 6219
540 pages
Print Icon
To Next Page IconTo Next Page
To Next Page IconTo Next Page
To Previous Page IconTo Previous Page
To Previous Page IconTo Previous Page
Loading...
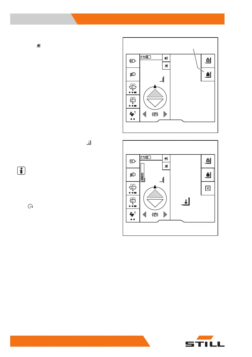
Press the "Precision load measure-
ment"
(1) softkey.
The
Lower fork slightly
prompt is
displayed.
Lower the fork carriage.
NOTE
Slowly lowering the fork carriage increases the
measurement accuracy in trucks with multi-
lever operation.
The value is calculated. The
Calc. ongo-
ing
message appears.
0,0°
0,70
m
1,5 t
--,-- t
6219_003-222
1
0,0°
0,70
m
1,5 t
6219_003-223_V3_en
Lower
fork slightly
Operation
4
Load-dependant assistance systems
176 56368011531 EN - 01/2021 - 05

Table of Contents

Related product manuals