EasyManua.ls Logo

Yamaha F150B - Page 284

Yamaha F150B
458 pages
Print Icon
To Next Page IconTo Next Page
To Next Page IconTo Next Page
To Previous Page IconTo Previous Page
To Previous Page IconTo Previous Page
Loading...
8-5
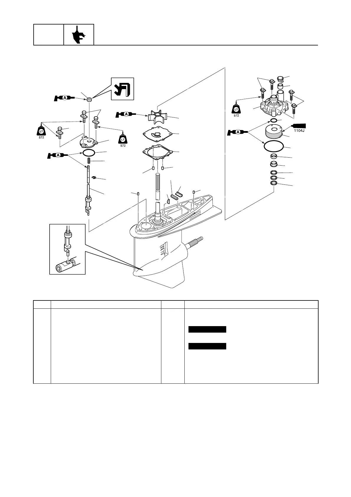
LOWR
Lower unit
No. Part name Q’ty Remarks
18 Cover 1
19 Seal 1
20 O-ring 1
Not reusable
21 Insert cartridge 1
22 O-ring 1
Not reusable
23 Collar 1
24 Spacer 1
25 Washer 2
26 Wave washer 1
18
19
17
17
16
20
21
22
23
24
26
8
13
8
9
9
12
11
10
7
6
5
4
3
1
2
1
14
15
25
25

Table of Contents

Related product manuals