EasyManua.ls Logo

Cleaver-Brooks ClearFire CFLC-5000 - Boiler Mechanical Assembly (by model size)

Cleaver-Brooks ClearFire CFLC-5000
290 pages
Print Icon
To Next Page IconTo Next Page
To Next Page IconTo Next Page
To Previous Page IconTo Previous Page
To Previous Page IconTo Previous Page
Loading...
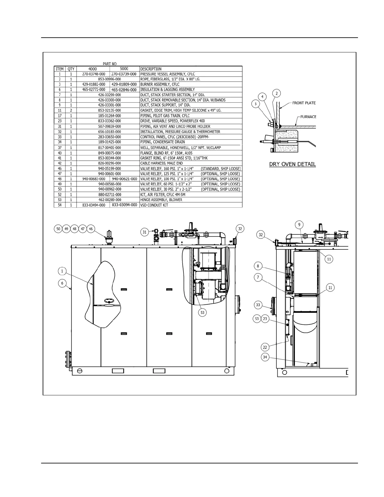
Section 6 — Parts
Part No. 750-363 6-3
Figure 6-1. Boiler Mechanical Assembly CFLC 4000/5000

Table of Contents

Related product manuals