EasyManua.ls Logo

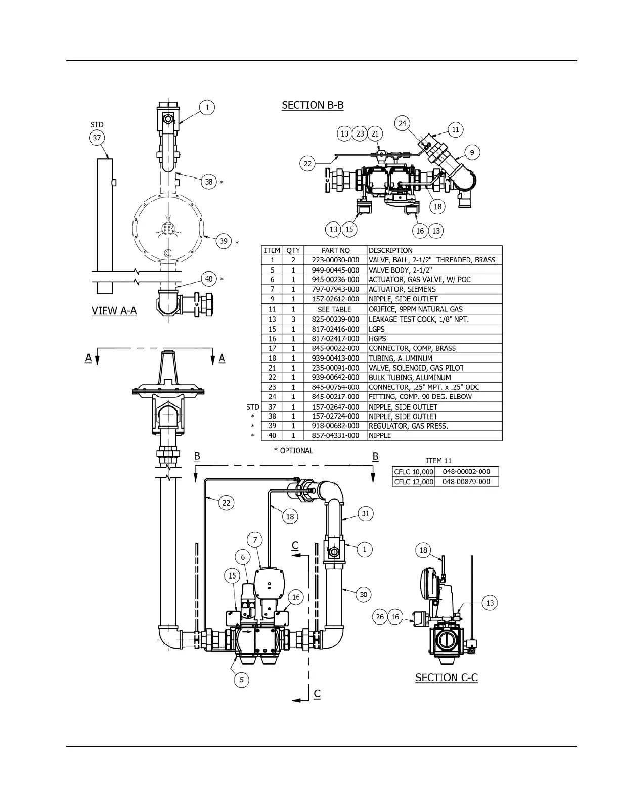
Cleaver-Brooks ClearFire CFLC-5000 - Gas Train CFLC 10000;12000 (Optional 9 PPM Nox)

Cleaver-Brooks ClearFire CFLC-5000
290 pages
Print Icon
To Next Page IconTo Next Page
To Next Page IconTo Next Page
To Previous Page IconTo Previous Page
To Previous Page IconTo Previous Page
Loading...
Section 6 — Parts
Part No. 750-363 6-13
Figure 6-12. Gas train CFLC 10000/12000 (optional 9 PPM NOx)

Table of Contents

Related product manuals