EasyManua.ls Logo

Komatsu 930E-2 - Truck Control Interface Panel (Tci)

Komatsu 930E-2
739 pages
Print Icon
To Next Page IconTo Next Page
To Next Page IconTo Next Page
To Previous Page IconTo Previous Page
To Previous Page IconTo Previous Page
Loading...
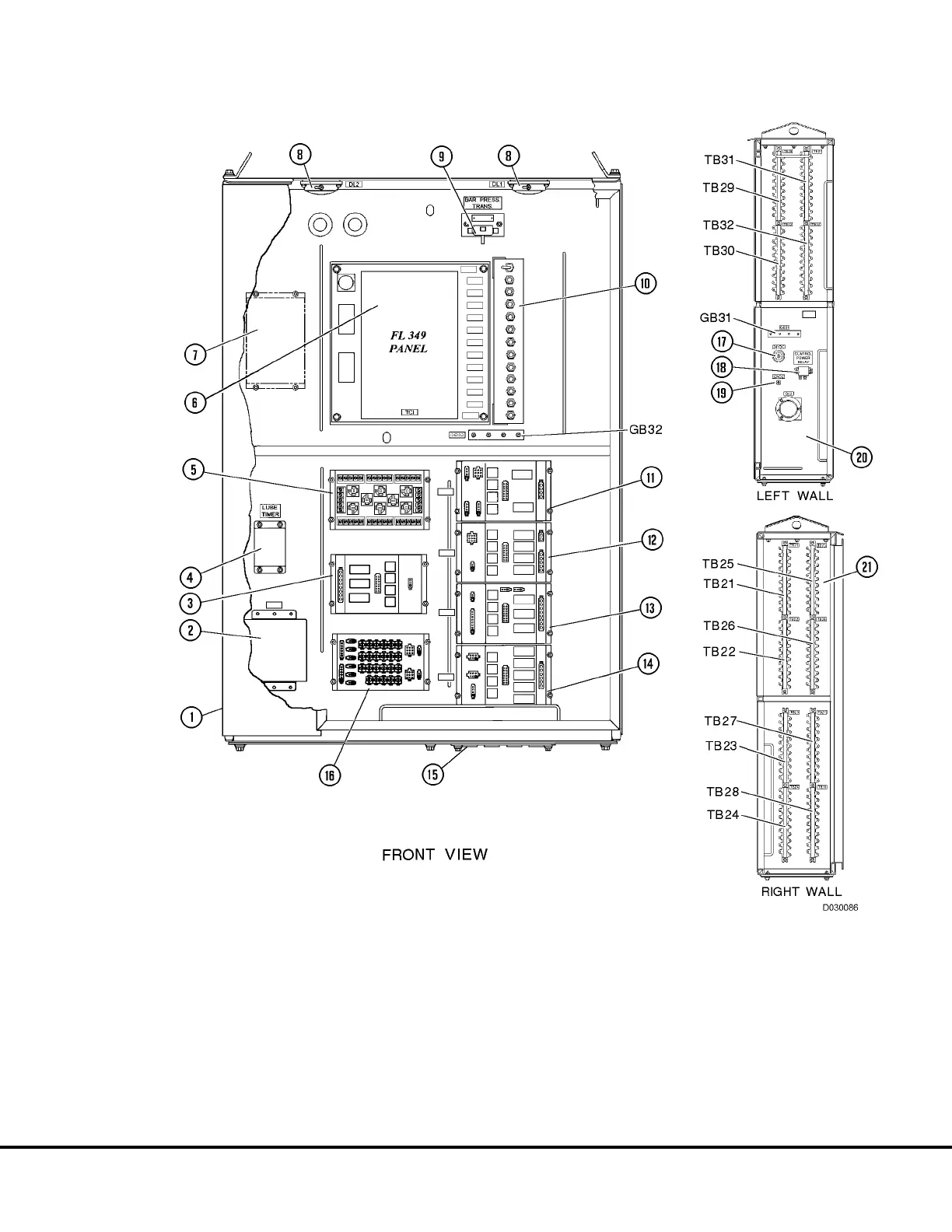
FIGURE 3-3. ELECTRICAL INTERFACE CABINET
1. Cabinet Assembly
2. Special Interface Module (SIM)
3. Relay Board (RB1)
4. Lincoln Lube System Timer
5. Relay Board (RB6)
6. Truck Control Interface Panel (TCI)
7. Relay Board (RB7 - Not Used)
8. Cabinet Service Light
9. Barometric Pressure Transducer
10. Circuit Breaker Panel
11. Relay Board (RB2)
12. Relay Board (RB3)
13. Relay Board (RB4)
14. Relay Board (RB5)
15. Cable Entrance Panel
16. Diode Board (DB1)
17. 24 VDC Terminal
18. Control Power Relay
19. 12 VDC Terminal
20. Cabinet Left Wall
21. Cabinet Right Wall
D03019 04/01 24VDC System Components D3-7

Table of Contents

Related product manuals