EasyManua.ls Logo

Komatsu 930E-2 - Brake Valve

Komatsu 930E-2
739 pages
Print Icon
To Next Page IconTo Next Page
To Next Page IconTo Next Page
To Previous Page IconTo Previous Page
To Previous Page IconTo Previous Page
Loading...
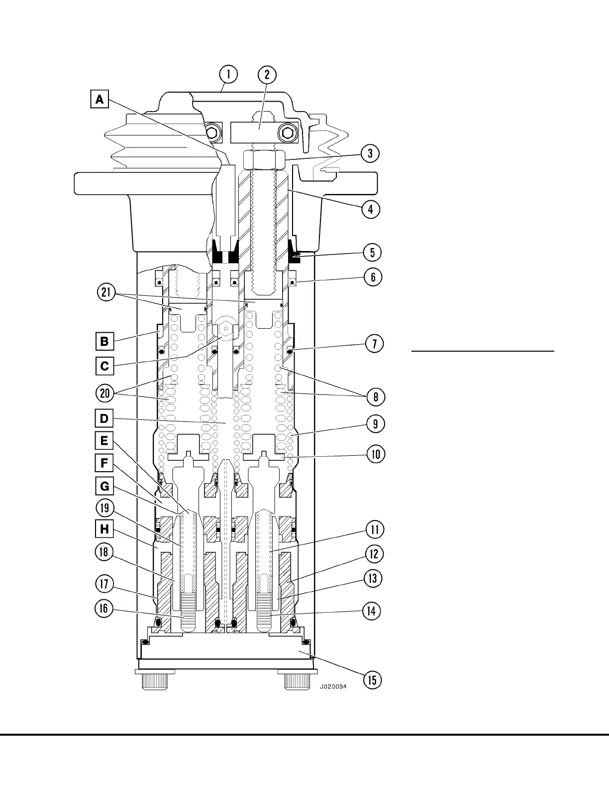
1. Actuator Cap
2. Adjustment Collar
3. Nut
4. Actuator Plunger
5. Wiper Seal
6. Poly-Pak Seal Assembly
7. Glyde Ring Assembly
8. Regulator Springs (B1)
9. Plunger Return Spring
10. Spring Seat
11. Spool Return Spring (B1)
12. Regulator Sleeve (B1)
13. Regulator Spool (B1)
14. Reaction Plunger (B1)
15. Base Plate
16. Reaction Plunger (B2)
17. Regulator Sleeve (B2)
18. Regulator Spool (B2)
19. Spool Return Spring (B2)
20. Regulator Springs (B2)
21. Staging Seat
A. Adjustment Collar Maximum
Pressure Contact Area
B. Automatic Apply Piston Area
C. PX Port
D. Tank Port
E. Reactionary Pressure Area
F. Brake Apply Port
G. Orifice
H. Supply Port
NOTE:
B1 - Rear Brakes
B2 - Front Brakes
FIGURE 2-2. BRAKE VALVE
(FULL CUT-AWAY)
J02027 Brake Circuit J2-5

Table of Contents

Related product manuals