EasyManua.ls Logo

Komatsu 930E-2 - Tank Breather Valve

Komatsu 930E-2
739 pages
Print Icon
To Next Page IconTo Next Page
To Next Page IconTo Next Page
To Previous Page IconTo Previous Page
To Previous Page IconTo Previous Page
Loading...
TANK BREATHER VALVE
Removal
Unscrew breather valve (2, Figure 5-1) from tank (1).
Installation
Screw breather valve into tank.
Disassembly
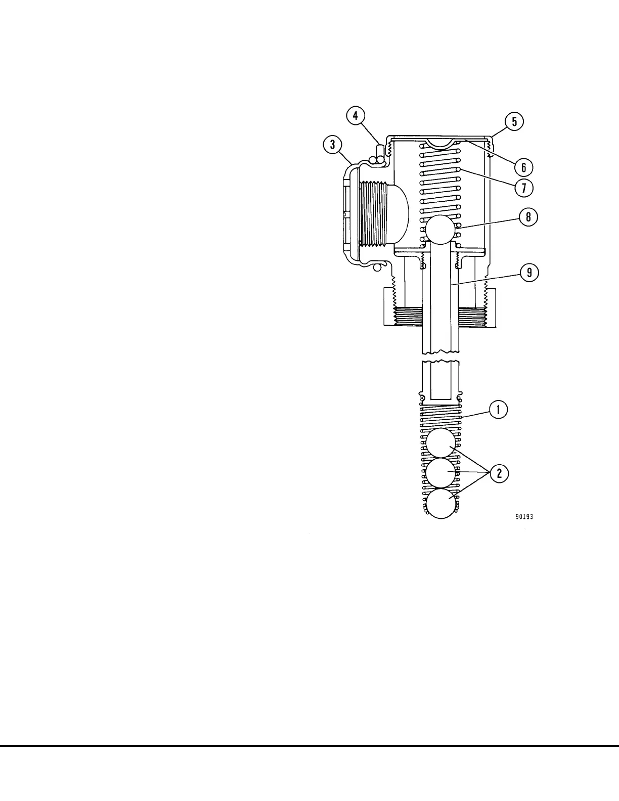
1. Remove spring clamp (4, Figure 5-2) from outlet.
2. Pull off rubber cover and screen (3).
3. Unscrew nut (5) from top of breather valve. Re-
move cover (6), spring (7), and steel ball (8).
4. Slide valve assembly (9) from housing.
5. Disengage tapered spring (1) containing three
balls (2) from valve stem.
Assembly
1. Clean and inspect all parts. If valve, body, or
springs are damaged, replace complete breather
valve.
2. Install in order; tapered spring, one steel ball, one
cork ball and one hollow aluminum ball.
3. Engage three coils of spring on small end of valve
stem with hollow aluminum ball.
4. Install valve into housing.
5. Place steel ball (8) on top of valve. Install spring
(7).
6. Place cover (6) over spring. Screw on large nut (5).
7. Install screen and rubber cover (3) over outlet.
8. Install spring clamp (4).
FIGURE 5-2. BREATHER VALVE
1. Tapered Spring
2. Float Balls
3. Cover and Screen
4. Spring Clamp
5. Nut
6. Cover
7. Spring
8. Steel Ball
9. Valve Assembly
M5-2 Wiggins Quick Fill Fuel System M05002 10/96

Table of Contents

Related product manuals