EasyManua.ls Logo

Komatsu 930E-2 - Rear Suspension Assembly

Komatsu 930E-2
739 pages
Print Icon
To Next Page IconTo Next Page
To Next Page IconTo Next Page
To Previous Page IconTo Previous Page
To Previous Page IconTo Previous Page
Loading...
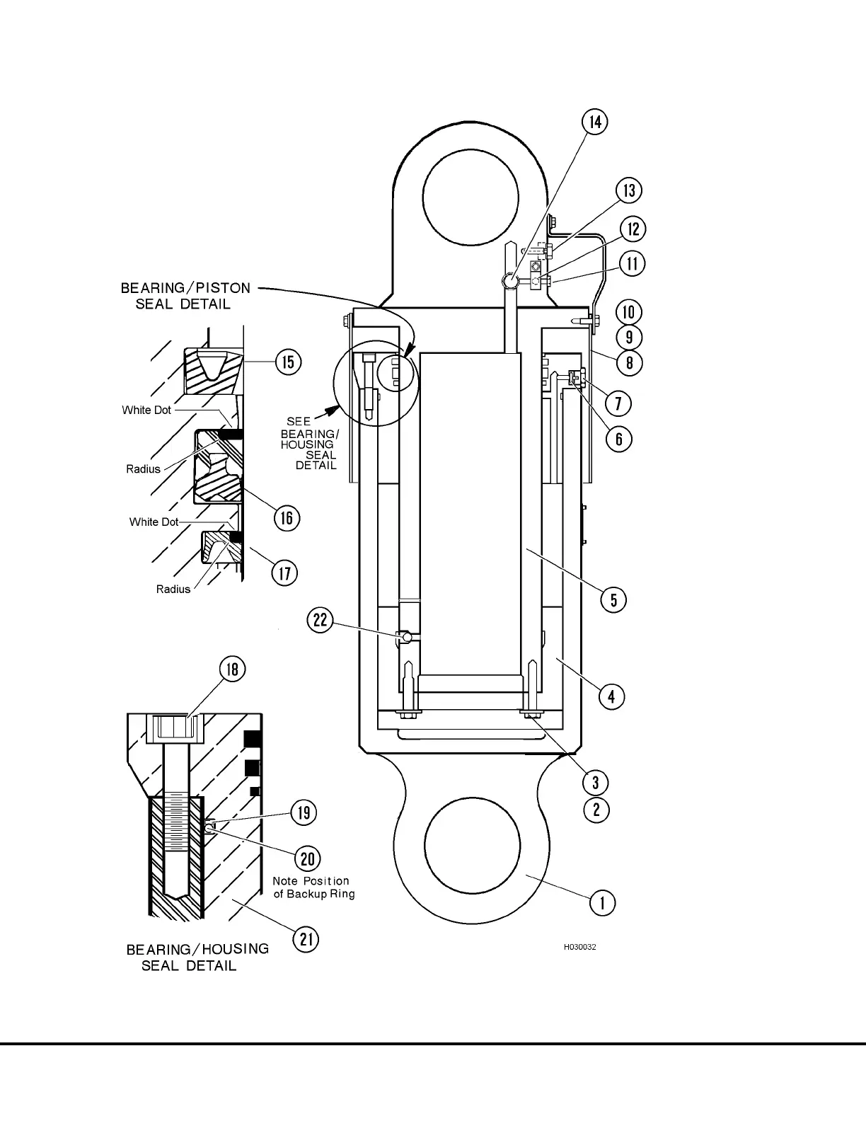
FIGURE 3-4.
REAR SUSPENSION
ASSEMBLY
1. Housing
2. Capscrews
3. Hardened
Flatwashers
4. Piston Bearing
5. Piston Rod
6. Bleeder Screw
7. Vent Plug
8. Shield
9. Capscrew
10. Washers
11. Vent Plug
12. Charging Valve
13. Plug (Sensor)
14. Vent Plug
15. Wiper Seal
16. Rod Seal
17. Step Seal
18. Socket Head
Capscrew
19. Backup Ring (See
note)
20. O-Ring
21. Housing Bearing
22. Ball Check
H03013 Rear Suspensions H3-5

Table of Contents

Related product manuals