EasyManua.ls Logo

Komatsu 930E-2 - STEERING SYSTEM COMPONENTS (Bottom View)

Komatsu 930E-2
739 pages
Print Icon
To Next Page IconTo Next Page
To Next Page IconTo Next Page
To Previous Page IconTo Previous Page
To Previous Page IconTo Previous Page
Loading...
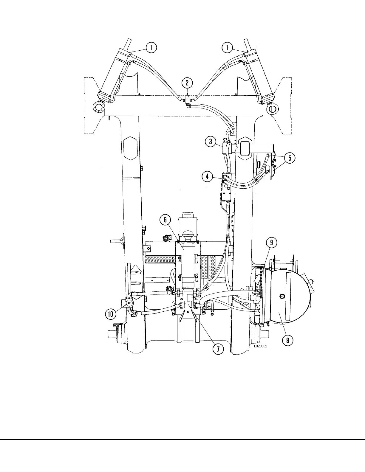
FIGURE 2-4. STEERING SYSTEM COMPONENTS (Bottom View)
1. Steering Cylinders
2. Manifold
3. Flow Amplifier Valve
4. Bleeddown Manifold
5. Steering Circuit Accumulators
6. Hoist Circuit Pump
7. Steering/Brake Pump
8. Hydraulic Tank
9. Shut-off Valve
10. Steering/Brake Circuit Filter
L02028 Hydraulic System L2-5

Table of Contents

Related product manuals