EasyManua.ls Logo

Tonghui TH2840 Series - Example of Transformer

Tonghui TH2840 Series
224 pages
Print Icon
To Next Page IconTo Next Page
To Next Page IconTo Next Page
To Previous Page IconTo Previous Page
To Previous Page IconTo Previous Page
Loading...
71
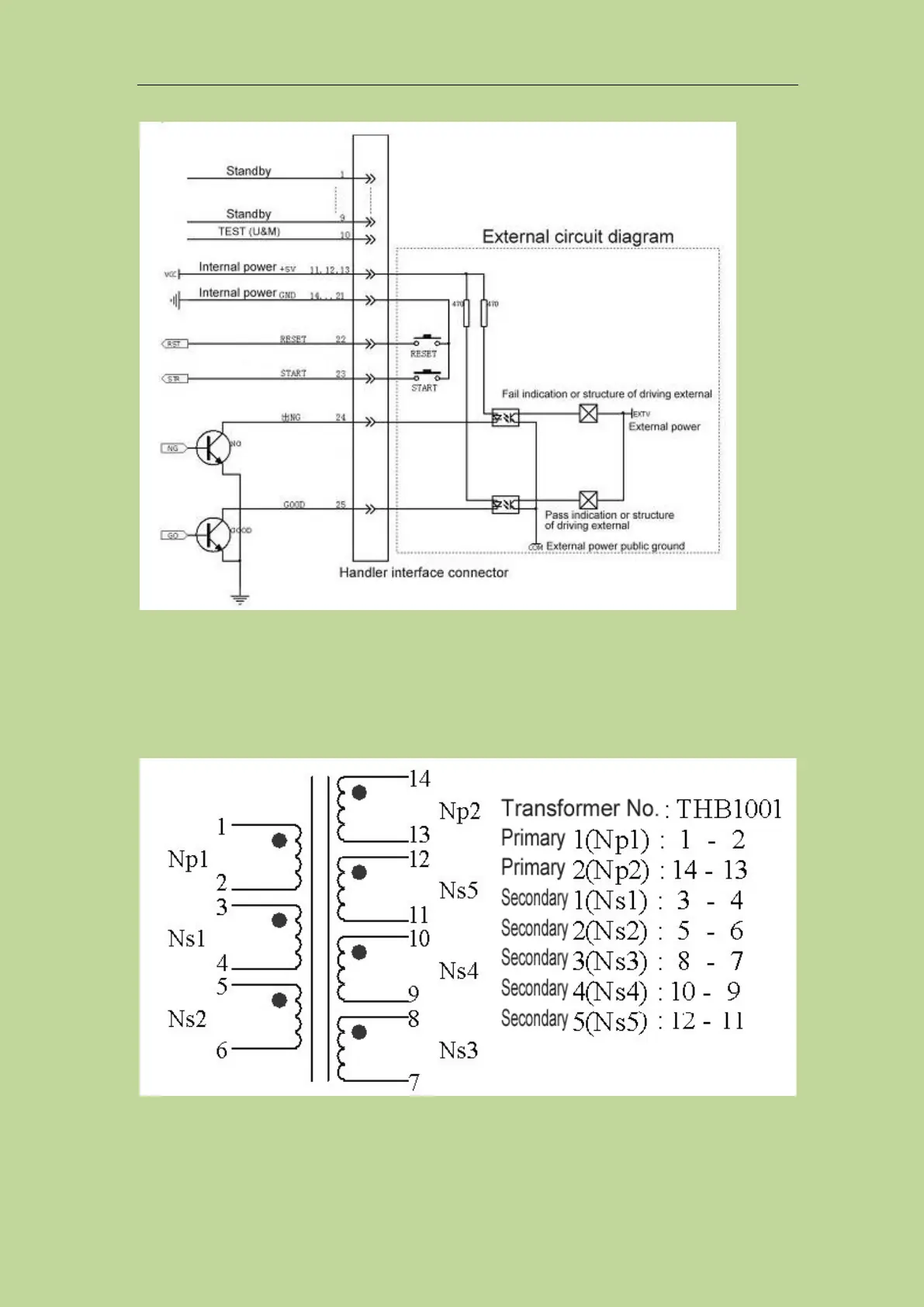
7.6 Example of transformer
In order to understand the operation of transformer scanning test, the setting figures listed in the
following chapters are based on the sample below.
The detailed information will be described in latter sections.

Table of Contents