EasyManua.ls Logo

Yamaha F15A - Shift Lever (Ft9.9 Dmh, Ft9.9 Deh)

Yamaha F15A
511 pages
Print Icon
To Next Page IconTo Next Page
To Next Page IconTo Next Page
To Previous Page IconTo Previous Page
To Previous Page IconTo Previous Page
Loading...
E
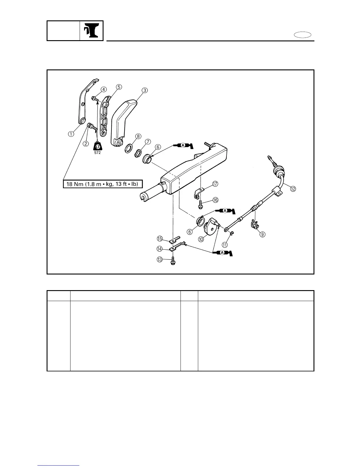
SHIFT LEVER (FT9.9DMH, FT9.9DEH)
BRKT
7-9
Procedure/Part name
SHIFT LEVER DISASSEMBLY
Steering handle ass’y
Shift lever cover
Bolt
Shift lever
Bolt
Shift lever cap
Bushing
Wave washer
Plastic washer
REMOVAL AND INSTALLATION CHART
SHIFT LEVER (FT9.9DMH, FT9.9DEH)
EXPLODED DIAGRAM
Step
1
2
3
4
5
6
7
8
Q’ty
1
1
1
3
1
2
1
1
Service points
Follow the left “Step” for disassembly.
M8

Table of Contents

Other manuals for Yamaha F15A

Related product manuals