EasyManua.ls Logo

Yamaha F15A - Page 400

Yamaha F15A
511 pages
Print Icon
To Next Page IconTo Next Page
To Next Page IconTo Next Page
To Previous Page IconTo Previous Page
To Previous Page IconTo Previous Page
Loading...
E
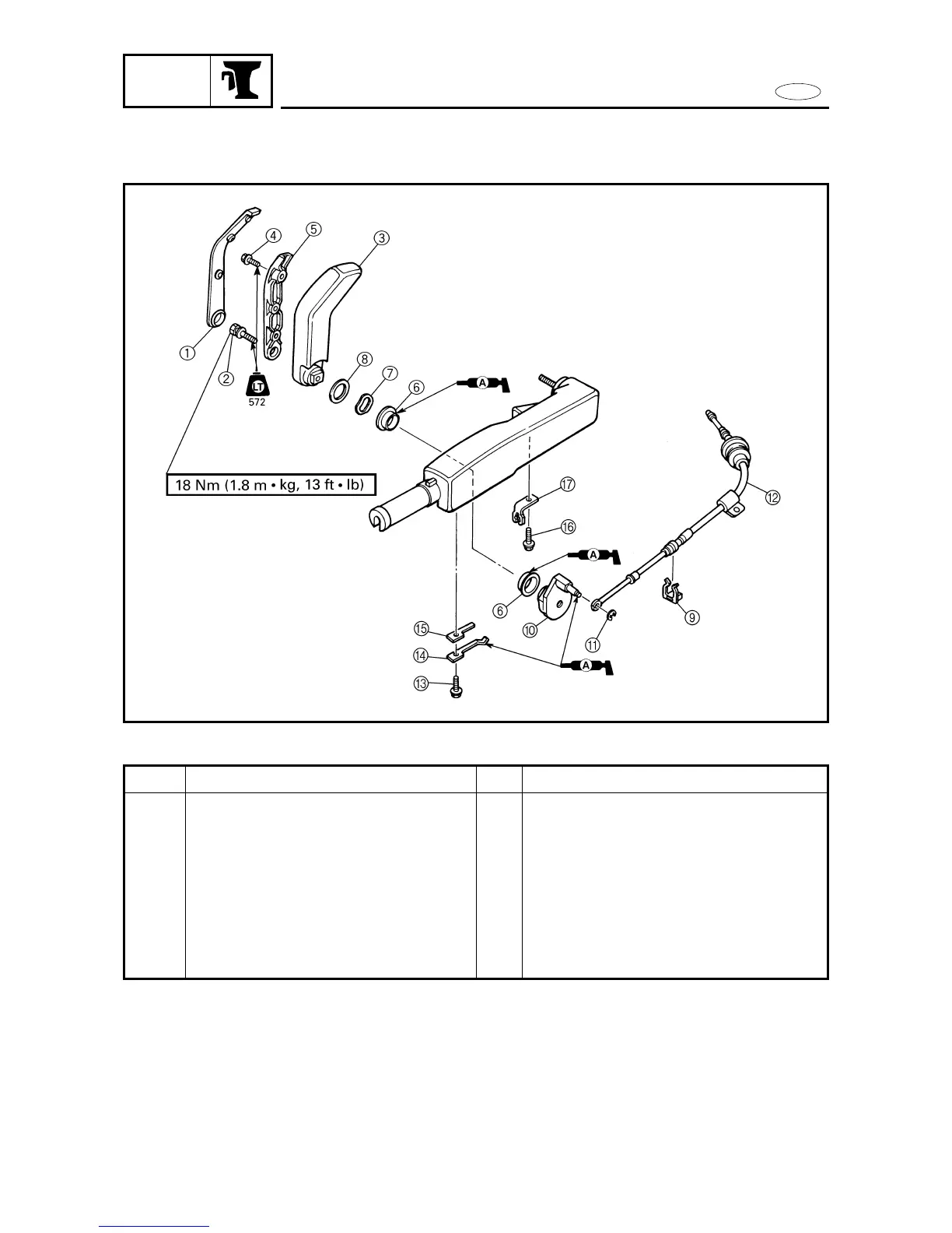
SHIFT LEVER (FT9.9DMH, FT9.9DEH)
BRKT
7-10
Procedure/Part name
Shift cable holder
Shift lever cam
E-clip
Shift cable
Bolt
Spring plate
Spring plate brcket
Bolt
Shift cable holder stay
REMOVAL AND INSTALLATION CHART
EXPLODED DIAGRAM
Step
9
0
q
w
e
r
t
y
u
Q’ty
1
1
1
1
1
1
1
1
1
Service points
M6 x 18 mm
M6 x 18 mm
Reverse the disassembly steps for assembly.

Table of Contents