EasyManua.ls Logo

HP 8712C - Connect the DUT

HP 8712C
559 pages
Print Icon
To Next Page IconTo Next Page
To Next Page IconTo Next Page
To Previous Page IconTo Previous Page
To Previous Page IconTo Previous Page
Loading...
I
-
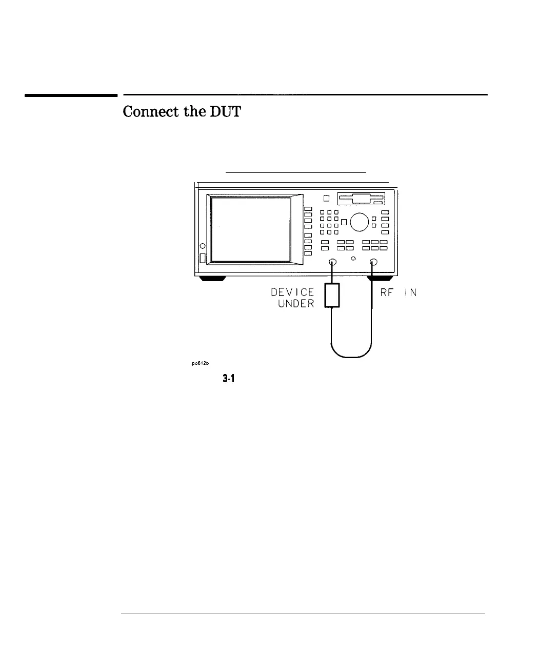
Making Measurements
Making a Power Measurement using Broadband Detection
Connect
the
DUT
NETWORK ANALYZER
TEST
Figure
3-l
1. Equipment Setup For a Power Measurement
3-32

Table of Contents

Related product manuals