EasyManua.ls Logo

Omron SYSMAC CV Series - Page 241

Omron SYSMAC CV Series
636 pages
Print Icon
To Next Page IconTo Next Page
To Next Page IconTo Next Page
To Previous Page IconTo Previous Page
To Previous Page IconTo Previous Page
Loading...
229
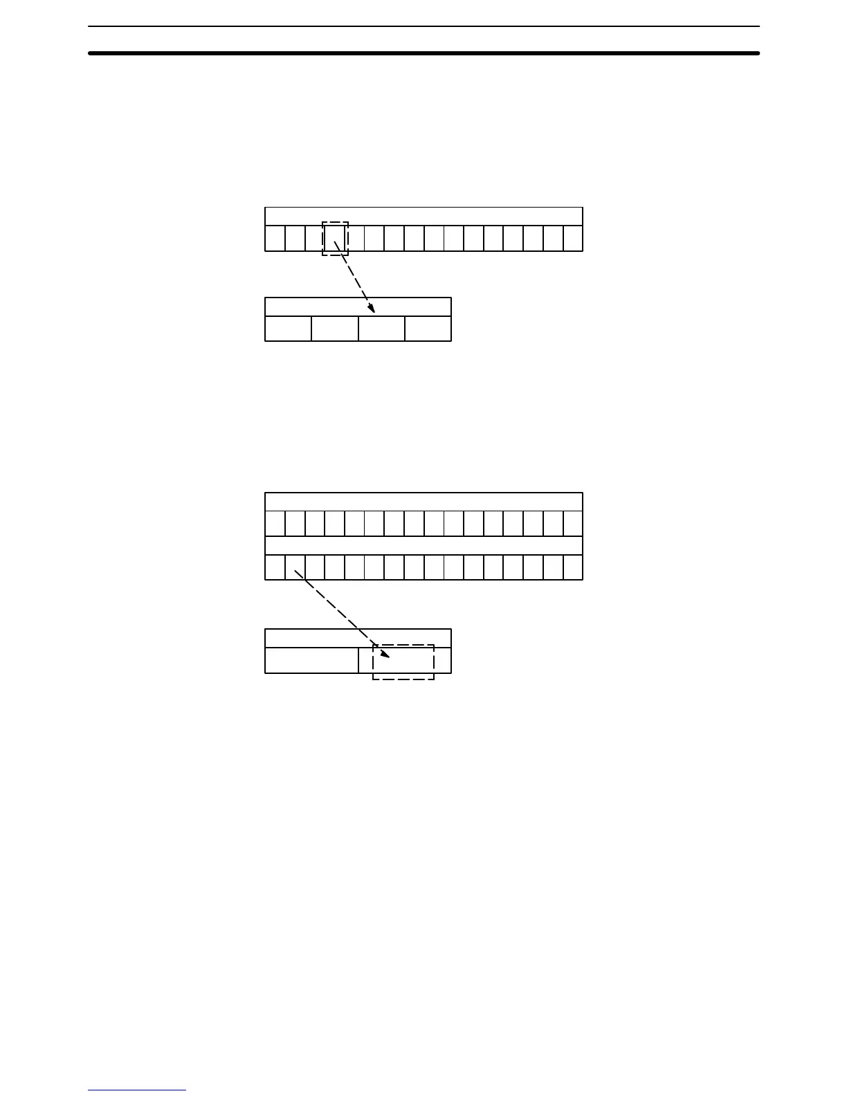
For 16-bit conversion, DMPX(111) determines the position of the highest ON bit
in SB, encodes it into one-digit hexadecimal value corresponding to the bit num-
ber of the highest ON bit, then transfers the hexadecimal value to the specified
4-bit digit in R. The digits to receive the results are specified in Di, which also
specifies the number of digits to be encoded.
The following is an example of a one-digit encode operation to digit number 1 of
R, i.e., here Di would be 0001.
Result word
First source word
C
0001000100010110
C transferred to indicate bit number 12 as
the highest ON bit.
For 256-bit conversion, DMPX(111) determines the position of the highest ON
bit in SB to SB+15, encodes it into two-digit hexadecimal value corresponding to
the bit number of the highest ON bit, then transfers the hexadecimal value to the
specified 8-bit digit in R. The first digit to receive the results is specified in Di,
which also specifies the number of digits to be encoded.
The following is an example of a one-digit encode operation to digit number 1 of
R, i.e., here Di would be 1001.
Result word
First source word: SB
12
0000000000000000
12 transferred to indicate that the 18th bit
is the highest ON bit.
SB + 1
0100000000000000
The number of digits (words) to be encoded and the first digit to receive con-
verted data are specified in Di. If more digits are designated than remain in R
(counting from the designated first digit), the remaining digits will be placed at
digits starting back at the beginning of R.
The final word(s) to be converted must be in the same data area as SB.
Conversion Instructions Section 5-17

Table of Contents

Related product manuals