EasyManua.ls Logo

MUTOH spitfire 90 - Page 245

MUTOH spitfire 90
319 pages
Print Icon
To Next Page IconTo Next Page
To Next Page IconTo Next Page
To Previous Page IconTo Previous Page
To Previous Page IconTo Previous Page
Loading...
Spitfire – Maintenance Manual
245
AP-74096, Rev. 1.0, 09/06/05
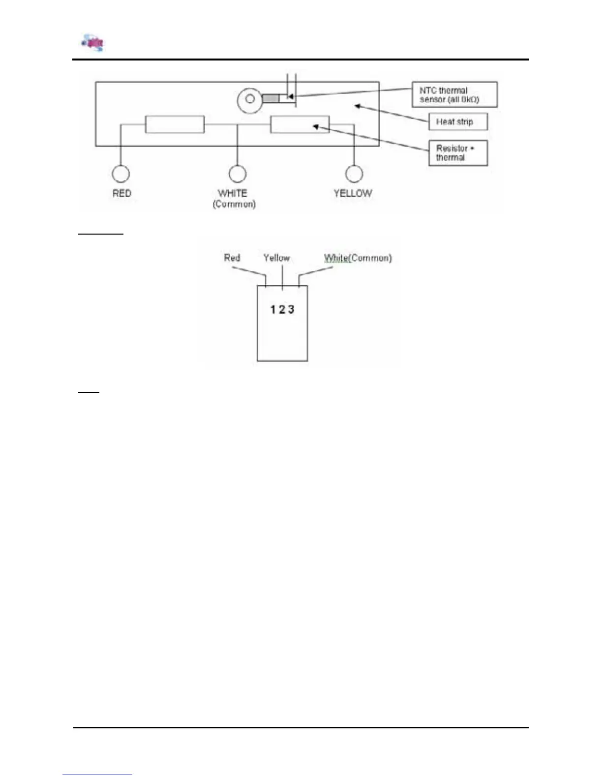
Connector:
Tips
Safety relay
On the powerboard is a safety relay that will switch 220 or 110V to the solid state relays whenever the
Spitfire is powered off. This is to prevent that defective solid state relays can make the heatstrips overheat
and melt its fuses.
Buzzer:
1 small beep for each heater that reached the desired temperature.
3 short beeps when heater accepts new data coming from the Spitfire.
4 seconds beep => error.
Heater D
In case of a defective fuse on a D-heater, check for isolation on the temperature sensors. Some machines
were released without isolation patches on the temperature sensors and cause the strips to overheat.
Heater A
In earlier machines strips were mounted with a fuse with a critical, narrow margin. Please do not pass 48°C
in the menu setting. This will be solved in successive firmware releases after 1.04.
FLAT Strip
In case of a DIY replacement of a heatstrip, make sure that the strip is flatly mounted! Air gaps between strip
and plate can cause overheating and cause fire!
Firmware Bugs
Check the firmware division for these.

Table of Contents

Related product manuals