EasyManua.ls Logo

Tektronix Keithley 4200A-SCS - Page 100

Tektronix Keithley 4200A-SCS
324 pages
Print Icon
To Next Page IconTo Next Page
To Next Page IconTo Next Page
To Previous Page IconTo Previous Page
To Previous Page IconTo Previous Page
Loading...
Section 5: Using a Keysight 4284/4980A LCR Meter Model 4200A-SCS Prober and External Instrument Control
5-4 4200A-913-01 Rev. A December 2020
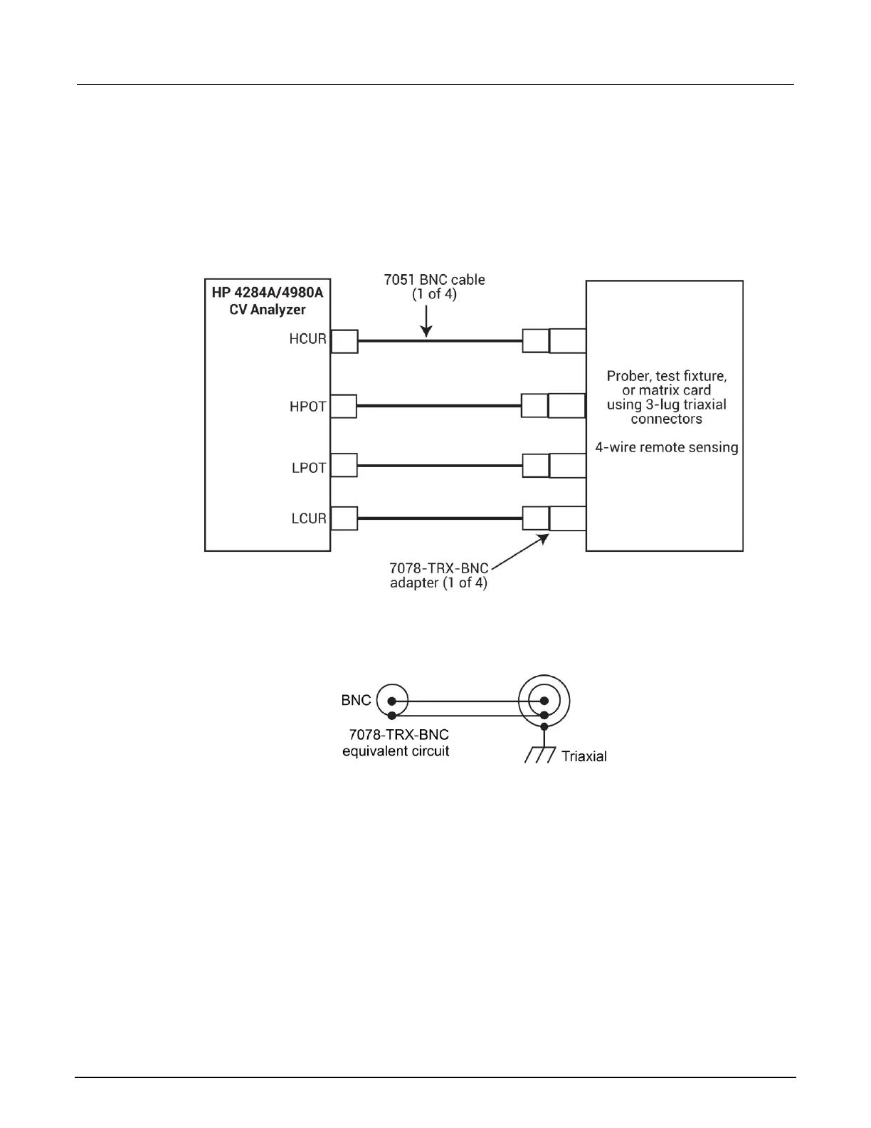
4-wire remote sensing
The following figure shows 4-wire remote sense connections. The 7078-TRX-BNC is a 3-lug
triaxial-to-BNC adapter. As shown in the figure, connect the adapters to the 3-slot triaxial connectors,
and then use a 7051-5 BNC cable to make the connections to the Model 4284A or 4980A.
Figure 72: 4-wire remote sense connections to equipment using triaxial connectors
The figure below shows the equivalent circuit for the adapter.
Figure 73: 7078-TRX-BNC equivalent circuit

Table of Contents

Other manuals for Tektronix Keithley 4200A-SCS

Related product manuals