EasyManua.ls Logo

TrendCommunications AuroraPlus - Page 150

TrendCommunications AuroraPlus
226 pages
Print Icon
To Next Page IconTo Next Page
To Next Page IconTo Next Page
To Previous Page IconTo Previous Page
To Previous Page IconTo Previous Page
Loading...
Trend AuroraPlus User Guide
5-30 429850
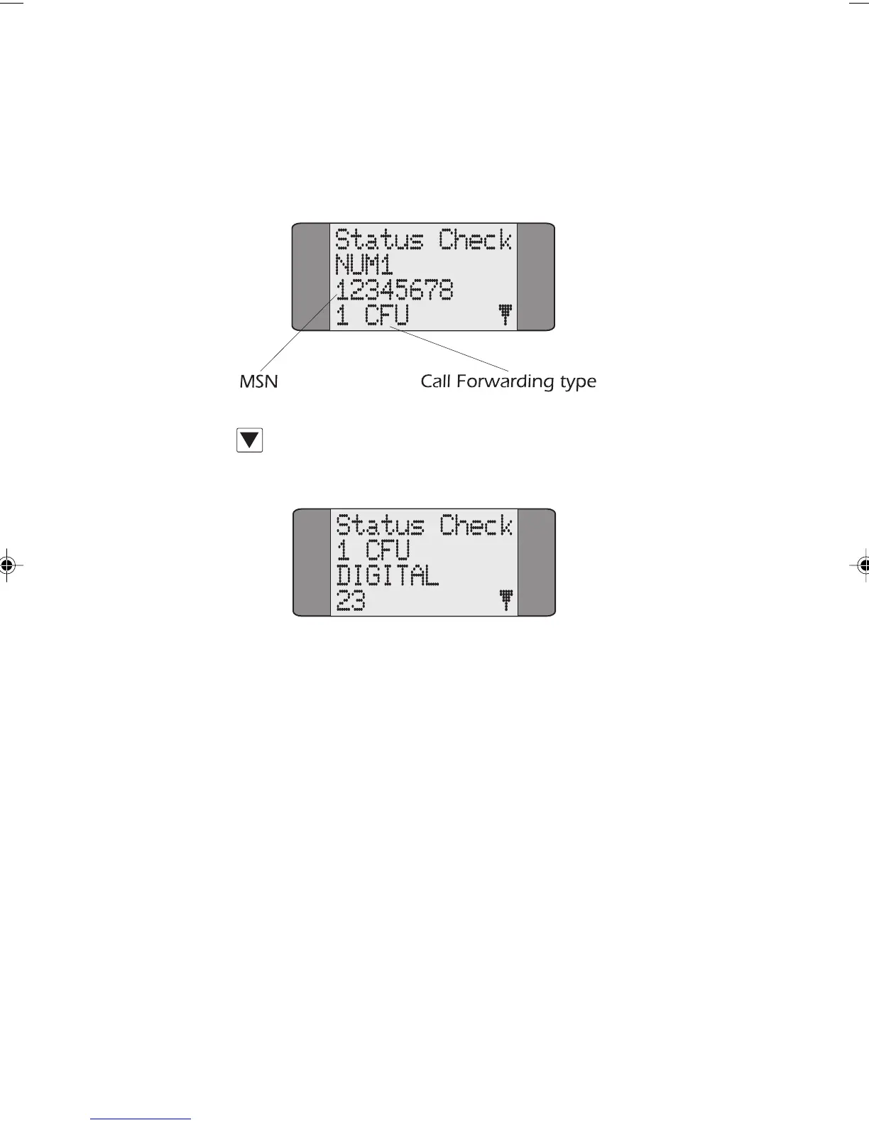
Choose CALLS/SUPP SVCS/CALL FWD from the Main Menu.
Choose
STATUS to display a screen showing details of any
Call Forwarding settings:
Press SCROLL repeatedly to move through the information
one line at a time.
If more than one Call Forwarding setting is programmed,
information is displayed in the following sequence:
NUM 1
CLI
CF-Type
Basic Service
Forwarded-To-Address
Basic Service
Forwarded-To-Address
CF-Type
Basic Service
Forwarded-To-Address
Chap05.P65 01/05/01, 09:1330

Table of Contents