EasyManua.ls Logo

Advanced AF-6600 - Page 71

Advanced AF-6600
267 pages
Print Icon
To Next Page IconTo Next Page
To Next Page IconTo Next Page
To Previous Page IconTo Previous Page
To Previous Page IconTo Previous Page
Loading...
Version 16.10 AF-6600 AF-5000 Series Install Manual 71
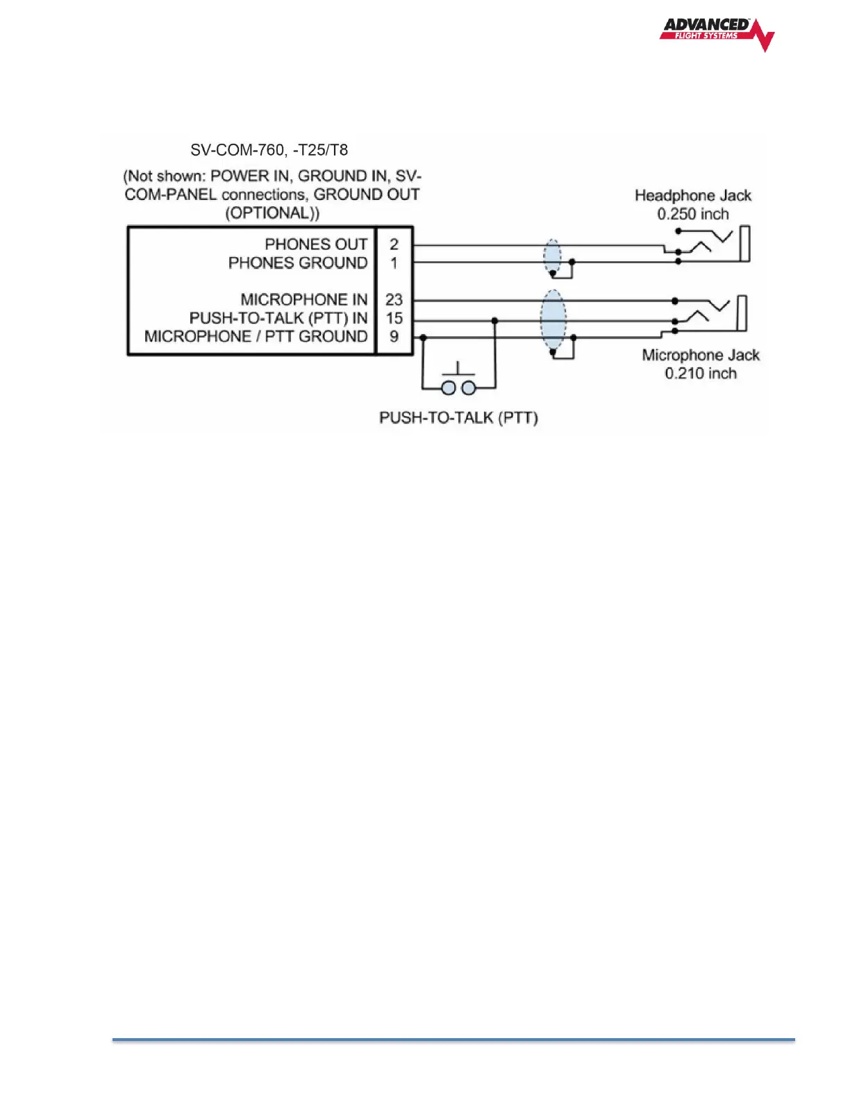
The following figure depicts connecting a SV-COM-T25/T8 directly to a single headset (headphone +
microphone) and a Push-To-Talk Switch when no intercom is used in a single-place aircraft.

Table of Contents