EasyManua.ls Logo

Delta VFD-VE - 3:Tension Closed-Loop, Torque Mode

Delta VFD-VE
315 pages
Print Icon
To Next Page IconTo Next Page
To Next Page IconTo Next Page
To Previous Page IconTo Previous Page
To Previous Page IconTo Previous Page
Loading...
Chapter 4 Parameters
4-143
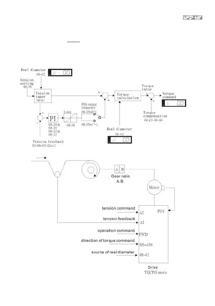
3:Tesnsion closed-loop, torque mode
Torque (N-M) =
2
* DF
F: tension (N)
D: reel diameter (m)

Table of Contents

Related product manuals