EasyManua.ls Logo

Maeda MC285C-3 - Working Range Limits Device; Over Winding Detector; Over-Unwinding Stop Device

Maeda MC285C-3
314 pages
Print Icon
To Next Page IconTo Next Page
To Next Page IconTo Next Page
To Previous Page IconTo Previous Page
To Previous Page IconTo Previous Page
Loading...
Section 4 MOMENT LIMITER (OVERLOAD DETECTOR) Mini-Crawler Crane M A E D A
4-66 1/2019 MC285C-3
Working Range Limits Device
When the set value of the working range limits is
neared, an alarm is issued to notify the operator
and persons in the surrounding area.
For the set value of the working range limits, the
last state is memorised when the starter switch
is turned to the OFF position.
NOTICE: For more information on setting
working range limits, see Moment Limiter
Working Envelope Setting on 4-74.
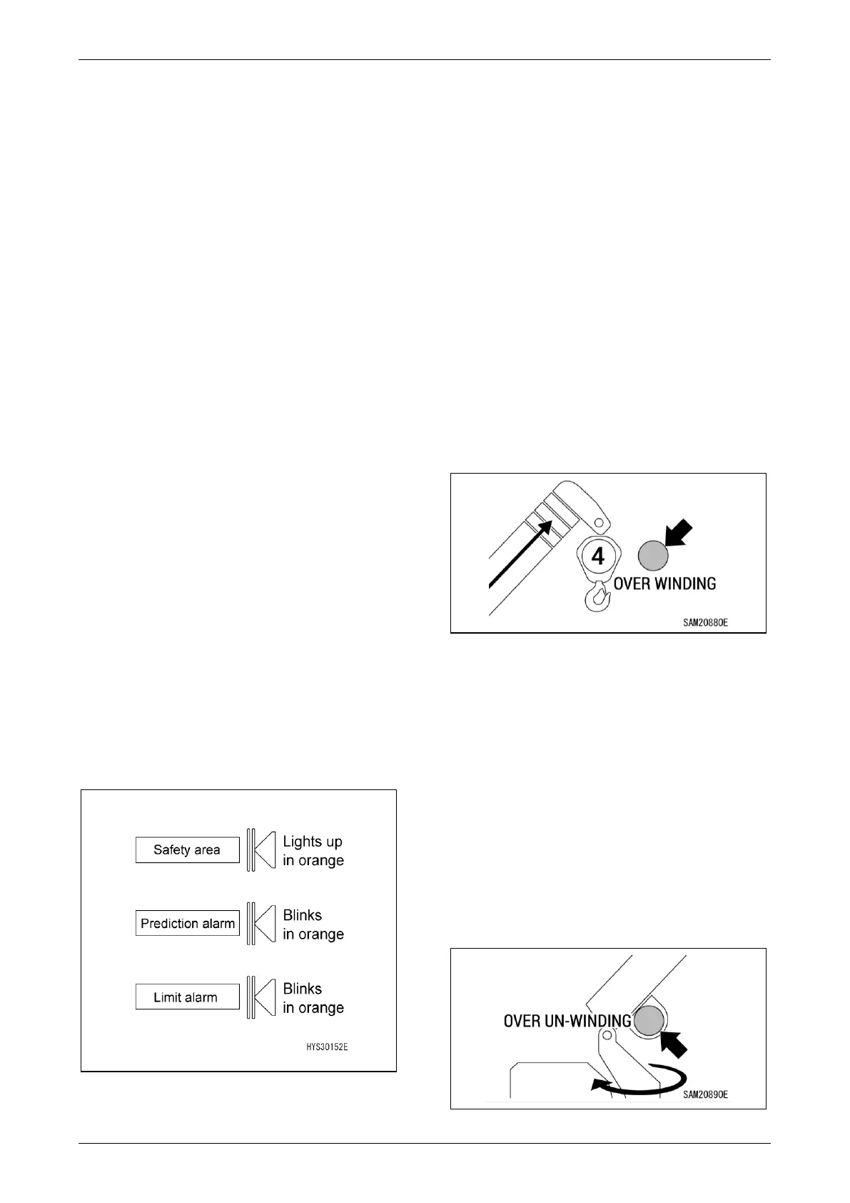
When the working range is set:
A. Safety area
The applicable working range limits display
illuminates in orange.
The green colour of the Working Status
Lamp flashes.
B. Prediction alarm
The applicable working range limits display
flashes in orange.
The alarm buzzer generates intermittent
sound peep.
The green colour of the Working Status
Lamp flashes.
C. Limit alarm
The applicable working range limits display
flashes in orange.
The alarm generates continuous sound
peep.
The yellow colour of the Working Status
Lamp flashes.
Operation of the applicable crane motion
stops automatically.
Fig. 4-178
Over Winding Detector
CAUTION: When hoisting the hook, be
careful of clearance between the hook and
boom. When the boom is extended, the hook
is also hoisted. Perform boom extension
operation while always checking the hook
height.
If the hook is over wound when the hook is
hoisted or the boom is extended:
The OVER WINDING indication on the
monitor turns on (red).
The alarm issues intermittent beeps.
Hook hoisting and boom extension actions
stop automatically.
When an automatic stop occurs, immediately
recover from the stop.
For recovery operation, perform hook lowering
operation and boom retraction operation.
Fig. 4-179
Over-Unwinding Stop Device
When the hook is lowered and length of wire
rope in the winch drum becomes short:
The Over-Unwinding Stop indication on the
monitor turns on (red).
When hook lowering operation is performed,
the alarm issues an intermittent sound
peep.
The hook lowering action is automatically
stopped.
When hook lowering action is automatically
stopped, immediately recover from the stop.
Raise the hook to correct the problem.
Fig. 4-180

Table of Contents

Other manuals for Maeda MC285C-3

Related product manuals