EasyManua.ls Logo

Maeda MC285C-3 - Inverter Unit; Electric Motor Cover; Protective Cover; 12 V DC Power Switch

Maeda MC285C-3
314 pages
Print Icon
To Next Page IconTo Next Page
To Next Page IconTo Next Page
To Previous Page IconTo Previous Page
To Previous Page IconTo Previous Page
Loading...
M A E D A Mini-Crawler Crane Section 4 ELECTRIC MOTOR COMPONENTS
1/2019 MC285C-3 4-115
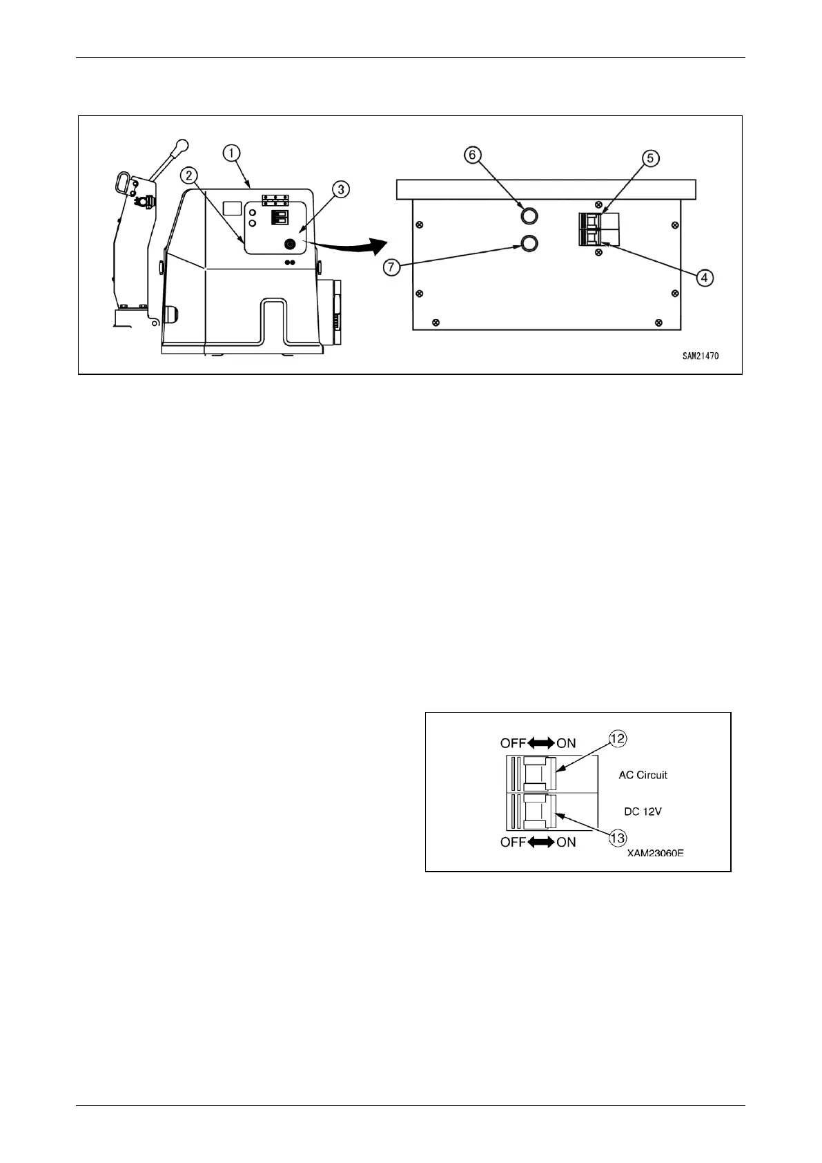
Inverter Unit
Fig. 4-300
1 - Electric Motor Cover
2 - Protective Cover
3 - Inverter Unit
4 - 12V DC Power Switch
5 - AC Circuit Power Switch
6 - Power Light (white)
7 - Trouble Light (red)
Electric Motor Cover / Protective Cover
WARNING! The electric unit cover must be
fitted at all times except when installing or
removing the electric unit or during
inspections or maintenance. Note risk of
serious accidents due to electric shock or
entanglement in rotating parts.
Inverter Unit
This is the control unit for the electric unit.
WARNING! Do not disassemble or modify the
inverter unit. Note risk of unintended changes
in the settings or control details that may lead
in turn to failure or serious accidents
involving the electric unit.
12V DC Power Switch
The 12V DC Power Switch is used to switch the
DC power output source on or off for the crane
operation system.
ON: Power is supplied to the crane operation
system.
OFF: No power is supplied to the crane
operation system.
Fig. 4-301

Table of Contents

Other manuals for Maeda MC285C-3

Related product manuals