EasyManua.ls Logo

Millipore Integritest Exacta - Figure 2: Integritest Instrument (Bottom Rear View)

Millipore Integritest Exacta
284 pages
Print Icon
To Next Page IconTo Next Page
To Next Page IconTo Next Page
To Previous Page IconTo Previous Page
To Previous Page IconTo Previous Page
Loading...
Integritest Exacta Filter Integrity Test Instrument
Operating and Maintenance Manual Hardware Connections 25
PHYSICAL CONNECTIONS
What you need for installation
Screwdriver (approximately 1/8” or 3 x 40 mm slotted) to tighten serial and
parallel port connectors (optional)
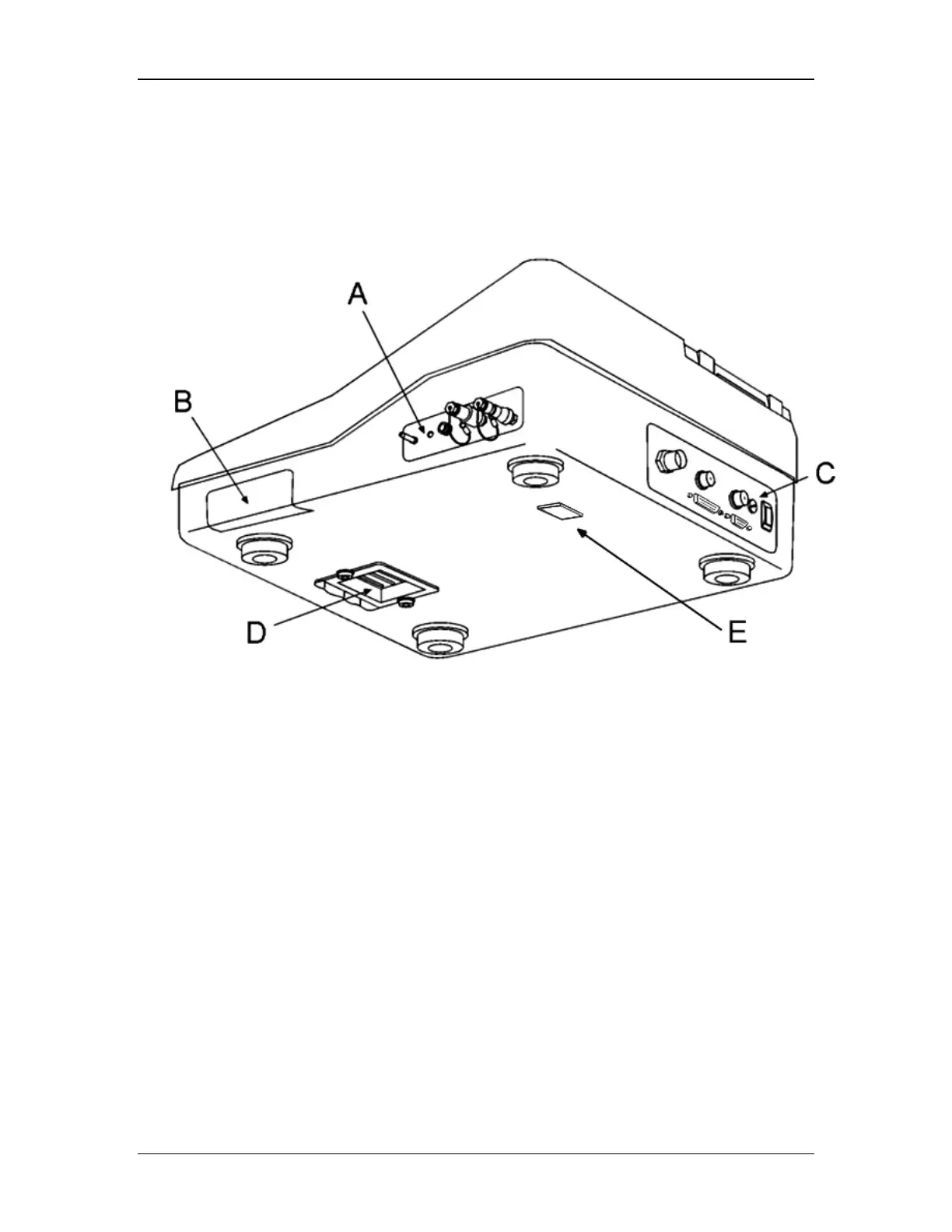
Diagram Key: A. Side Plate, Pneumatic Connections (See Figure 4)
B. Floppy Drive Cover
C. Back Plate, Electrical Connections (See Figure 3)
D. Filter Cover
E. Temperature Sensor Plug
Figure 2: Integritest Instrument (bottom rear view)

Table of Contents

Related product manuals