EasyManua.ls Logo

Siemens SINAMICS S120 - Page 378

Siemens SINAMICS S120
826 pages
To Next Page IconTo Next Page
To Next Page IconTo Next Page
To Previous Page IconTo Previous Page
To Previous Page IconTo Previous Page
Loading...
Motor Modules Booksize
6.2 Motor Modules with internal air cooling
Booksize Power Units
378 Manual, (GH2), 07/2016, 6SL3097-4AC00-0BP8
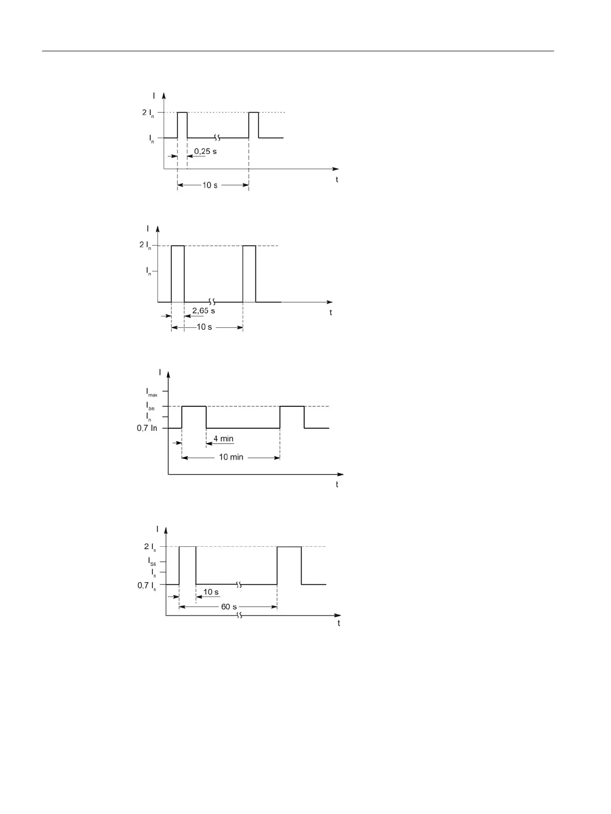
Figure 6-22 Duty cycle with initial load
Figure 6-23 Duty cycle without initial load
Figure 6-24 S6 duty cycle with initial load for a duty cycle duration of 600 s
Figure 6-25 S6 duty cycle with initial load for a duty cycle duration of 60 s

Table of Contents

Other manuals for Siemens SINAMICS S120

Related product manuals