EasyManua.ls Logo

Teledyne 100E - Configuration Information (CFG)

Teledyne 100E
258 pages
Print Icon
To Next Page IconTo Next Page
To Next Page IconTo Next Page
To Previous Page IconTo Previous Page
To Previous Page IconTo Previous Page
Loading...
Model 100E Instruction Manual Operating Instructions
045150102 Rev XB1 61
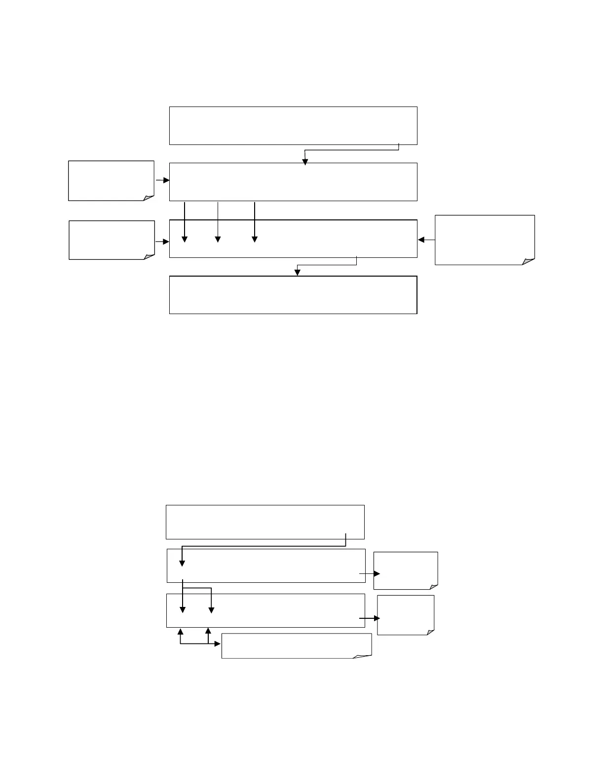
Example: If all passwords are enabled, the following keypad sequence would be required
to enter the SETUP menu:
SAMPLE* RANGE = 500.000 PPB SO2 =X.XXX
< TST TST > CAL SETUP
SAMPLE ENTER SETUP PASS: 0
0 0 0 ENTR EXIT
prompts for
password
number
Example: this
password enables the
SETUP mode
SAMPLE ENTER SETUP PASS: 0
8 1 8 ENTR EXIT
SETUP X.X PRIMARY SETUP MENU
CFG DAS RNGE PASS CLK MORE EXIT
Press individual
keys to set
numbers
Note that the instrument still prompts for a password when entering the VARS and DIAG
menus, even if passwords are disabled, but it displays the default password (818) upon
entering these menus. The user only has to press ENTR to access the password protected
menus but does not have to enter the required number code.
6.4.2. Configuration Information (CFG)
Pressing the CFG key displays the instrument configuration information. This display lists
the analyzer model, serial number, firmware revision, software library revision, CPU type
and other information. Use this information to identify the software and hardware when
contacting customer service. Special instrument or software features or installed options
may also be listed here.
Press NEXT of PREV to move through the
list of configuration information.
SAMPLE* RANGE = 500.000 PPB SO2 =X.XXX
< TST TST > CAL SETUP
SAMPLE
PRIMARY SETUP MENU
CFG DAS RNGE PASS CLK MORE EXIT
SAMPLE M100E SO2 ANALYZER
NEXT PREV EXIT
Press EXIT at
any time to
return to
SETUP menu
Press EXIT at
any time to
return to the
SAMPLE dis
p
la
y

Table of Contents

Related product manuals