EasyManua.ls Logo

Yamaha XVS1300A 2007 - Checking the Connecting Arm and Relay Arm; Installing the Relay Arm; Installing the Rear Shock Absorber Assembly

Yamaha XVS1300A 2007
424 pages
Print Icon
To Next Page IconTo Next Page
To Next Page IconTo Next Page
To Previous Page IconTo Previous Page
To Previous Page IconTo Previous Page
Loading...
REAR SHOCK ABSORBER ASSEMBLY
4-63
Spring
Damage/wear Replace the rear shock ab-
sorber assembly.
Bushing
Damage/wear Replace.
Spacer
Damage/scratches Replace.
Bolts
Bends/damage/wear Replace.
EAS23260
CHECKING THE CONNECTING ARM AND
RELAY ARM
1. Check:
Connecting arms
Relay arm
Damage/wear Replace.
2. Check:
Bearings
Oil seals
Damage/pitting Replace.
3. Check:
Spacers
Damage/scratches Replace.
EAS23270
INSTALLING THE RELAY ARM
1. Lubricate:
Spacers
Bearings
2. Install:
Bearings 1, 2, and 3
(to the relay arm)
Oil seals 4
(to the relay arm)
EAS23310
INSTALLING THE REAR SHOCK
ABSORBER ASSEMBLY
1. Lubricate:
Spacer
2. Tighten:
Relay arm nut
3. Install:
Rear shock absorber assembly
NOTE:
Raise the swingarm and then install the rear
shock absorber assembly between the swing-
arm and relay arm.
4. Tighten:
Rear shock absorber assembly upper nut
Rear shock absorber assembly lower nut
Recommended lubricant
Lithium-soap-based grease
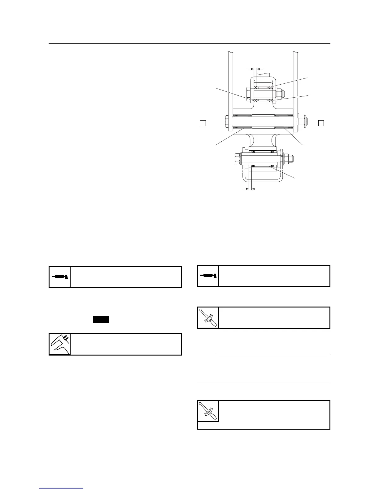
Installed depth of bearing a
4.5 mm (0.18 in)
New
A. Left side
B. Right side
Recommended lubricant
Lithium-soap-based grease
T
R
.
.
Relay arm nut
48 Nm (4.8 m·kg, 35 ft·lb)
T
R
.
.
Rear shock absorber assembly
upper nut
48 Nm (4.8 m·kg, 35 ft·lb)
2
2
4
3
4
1
a
a
AB
Manuals by Motomatrix / www.motomatrix.co.uk / The Solution For Lost Motorcycle Coded Keys
email: info@motomatrix.co.uk

Table of Contents

Related product manuals