EasyManua.ls Logo

Hisun HS800UTV - Page 304

Hisun HS800UTV
362 pages
Print Icon
To Next Page IconTo Next Page
To Next Page IconTo Next Page
To Previous Page IconTo Previous Page
To Previous Page IconTo Previous Page
Loading...
ELECTRICAL COMPONENTS
- 290 -
. resistance
Primary coil resistance
0.18 ~ 0.28 at 20 °C (68 °F)
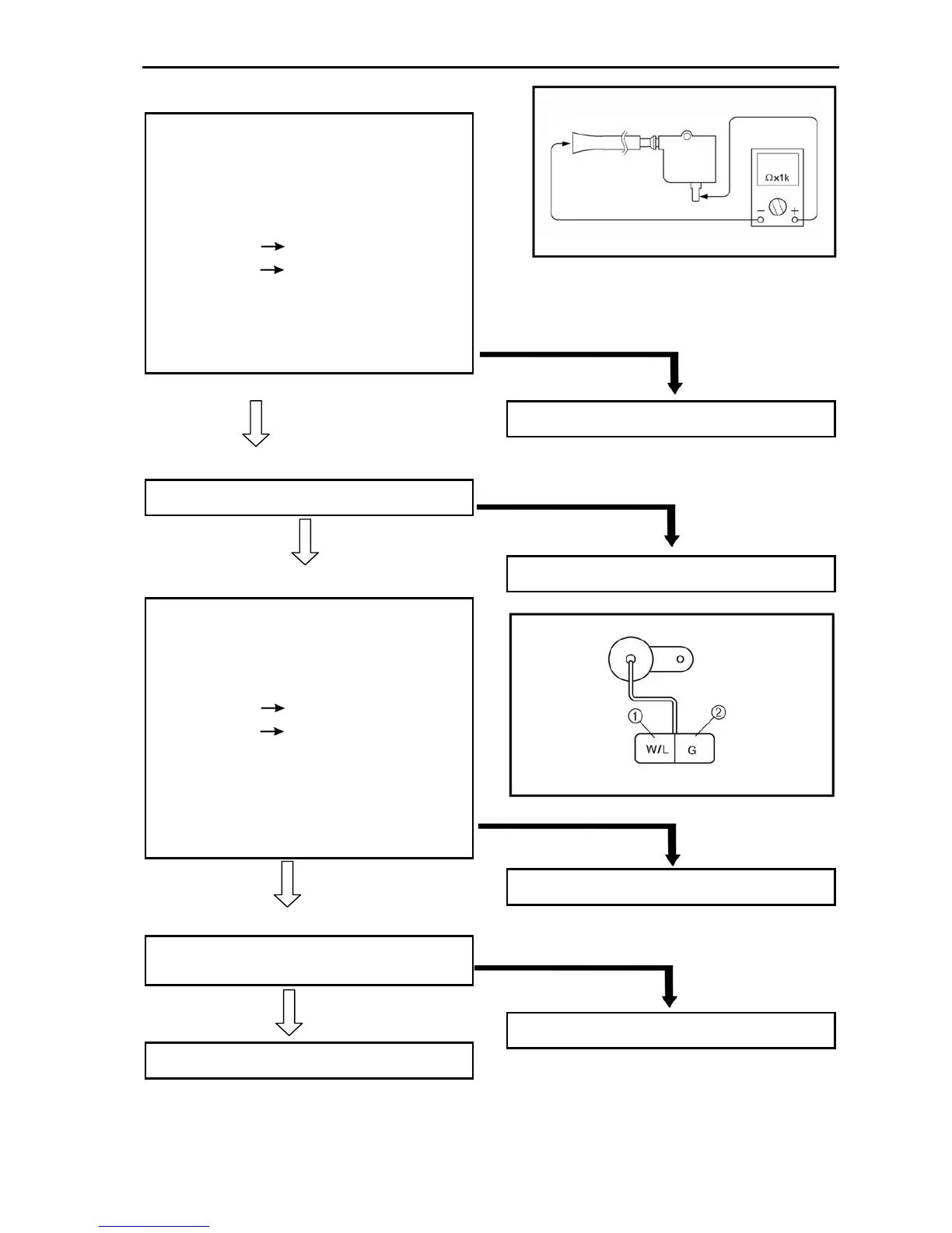
• Connect the pocket tester ( × 1k) to the
ignition coil.
Tester (+) lead
Orange lead terminal
Tester (–) lead
Spark plug lead
• Check that the secondary coil has the
specified resistance.
Secondary coil resistance
6.32 ~ 9.48 k at 20 °C (68 °F)
BOTH MEET SPECIFICATION
7. Main switch
Refer to “CHECKING THE SWITCH”
CORRECT
8. Pickup coil resistance
• Disconnect the A.C. magneto coupler from
the wire harness.
• Connect the pocket tester ( × 100) to the
pickup coil terminal.
Tester (+) lead White/ Blue terminal
Tester (–) lead
Green terminal
• Check the pickup coil for the specified
resistance.
Pickup coil resistance
459 ~ 561 at 20 °C (68 °F)
(White/Red – White/Green)
MEETS SPECIFICATION
9.Wiring connection
• Check the connections of the entire ignition
system. Refer to “CIRCUIT DIAGRAM”.
CORRECT
Replace the C.D.I. unit
OUT OF SPECIFICATION
Replace the ignition coil.
INCORRECT
Replace the main switch.
OUT OF SPECIFICATION
Replace the pickup coil/stator assembly.
POOR CONNECTION
Properly connect the ignition system.

Table of Contents

Related product manuals