EasyManua.ls Logo

Nipro SURDIAL - Main Lamp Assembly; Construction of Main Lamp Assembly

Default Icon
198 pages
Print Icon
To Next Page IconTo Next Page
To Next Page IconTo Next Page
To Previous Page IconTo Previous Page
To Previous Page IconTo Previous Page
Loading...
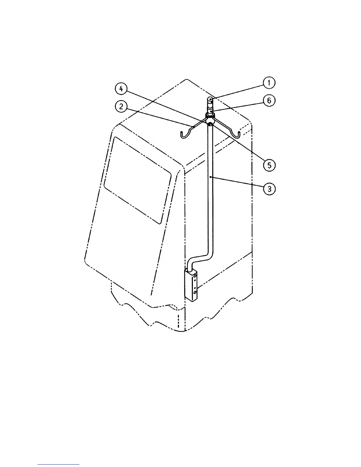
8.5 Main lamp assembly
8.5.1 Construction of main lamp assembly
Fig. 8-5 Main lamp assembly
8-13

Table of Contents

Other manuals for Nipro SURDIAL

Related product manuals